首页
专利数据库
产业人才
行业动态
产业政策法规
维权援助
个人中心
登录/注册
详情
文本
图像
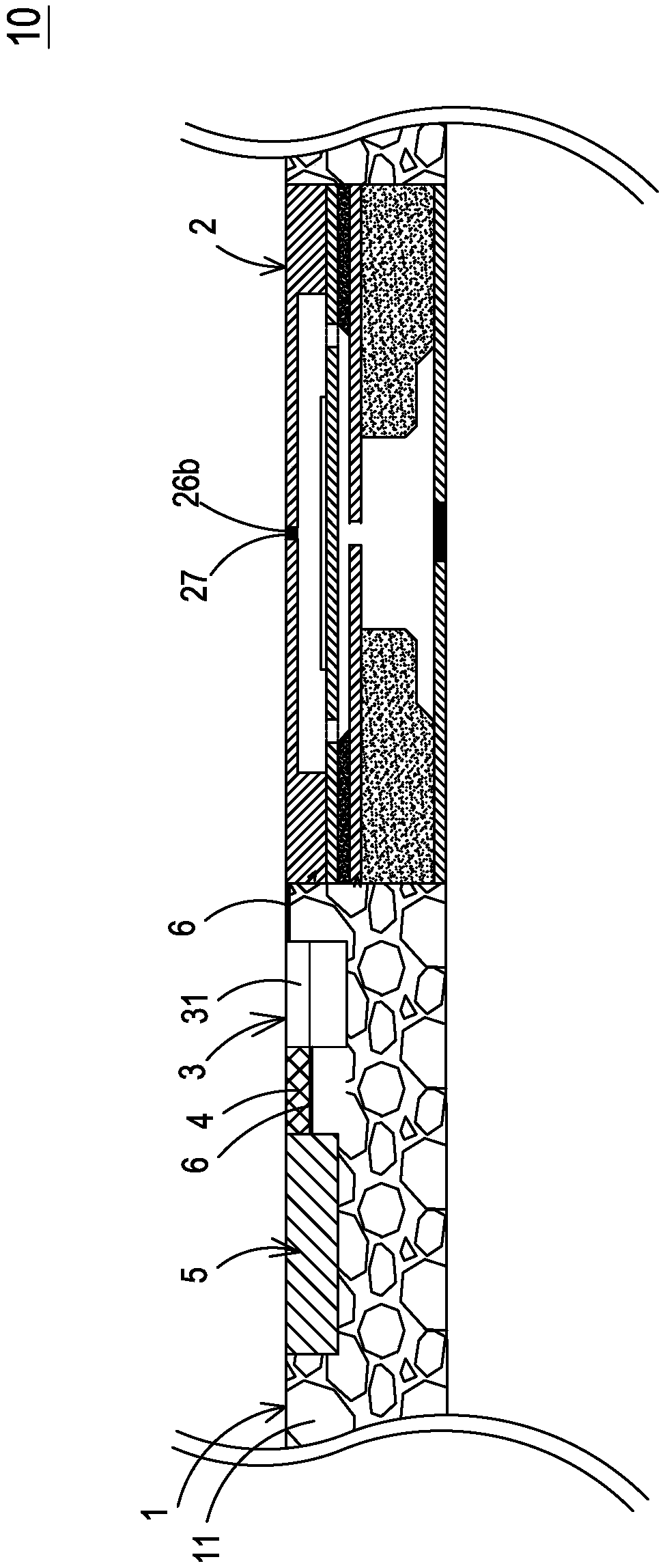
标题:
致动透气材料结构
授权日:
2020-06-12
公开(公告)号:
CN210726724U
申请日:
2019-01-11
公开(公告)日:
2020-06-12
当前申请(专利权)人:
研能科技股份有限公司
发明人:
莫皓然 | 薛达伟 | 韩永隆 | 黄启峰 | 郭俊毅 | 蔡长谚
简单同族:
CN210726724U
简单同族成员数量:
1
简单同族被引用专利总数:
0
诉讼案件数:
0
法律状态/事件:
授权