首页
专利数据库
产业人才
行业动态
产业政策法规
维权援助
个人中心
登录/注册
详情
文本
图像
标题:
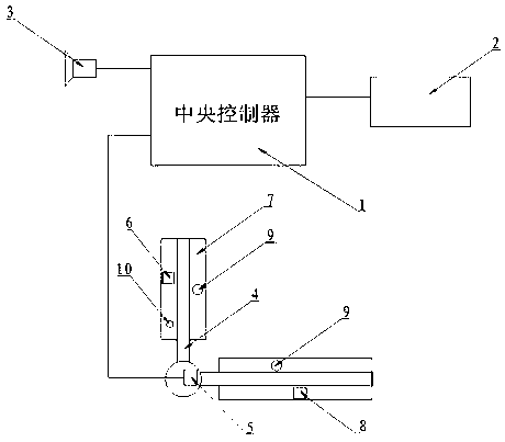
一种关节康复训练系统
授权日:
2013-11-06
公开(公告)号:
CN203263751U
申请日:
2013-05-31
公开(公告)日:
2013-11-06
当前申请(专利权)人:
四川旭康医疗电器有限公司
发明人:
李彤
简单同族:
CN203263751U
简单同族成员数量:
1
简单同族被引用专利总数:
13
诉讼案件数:
0
法律状态/事件:
授权 | 质押