首页
专利数据库
产业人才
行业动态
产业政策法规
维权援助
个人中心
登录/注册
详情
文本
图像
标题:
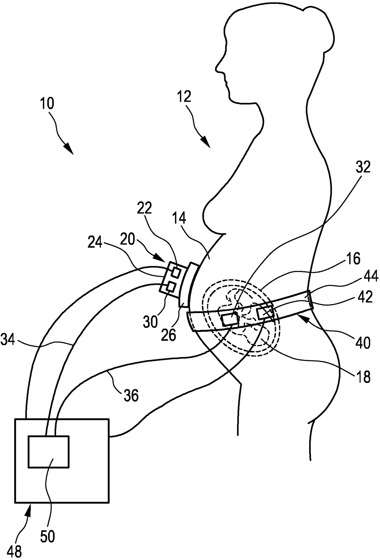
怀孕监测系统和方法
授权日:
1900-01-01
公开(公告)号:
CN105722454A
申请日:
2014-10-13
公开(公告)日:
2016-06-29
当前申请(专利权)人:
皇家飞利浦有限公司
发明人:
J·范德拉尔 | H·杜里克 | L·施米特 | M·沃尔施拉格 | W·P·凯泽
简单同族:
CN105722454A | CN105722454B | EP3062683A1 | EP3062683B1 | JP2016531642A | JP6154554B2 | RU2016121227A | RU2016121227A3 | RU2677014C2 | US20160256132A1 | WO2015062851A1
简单同族成员数量:
11
简单同族被引用专利总数:
16
诉讼案件数:
0
法律状态/事件:
授权