首页
专利数据库
产业人才
行业动态
产业政策法规
维权援助
个人中心
登录/注册
详情
文本
图像
标题:
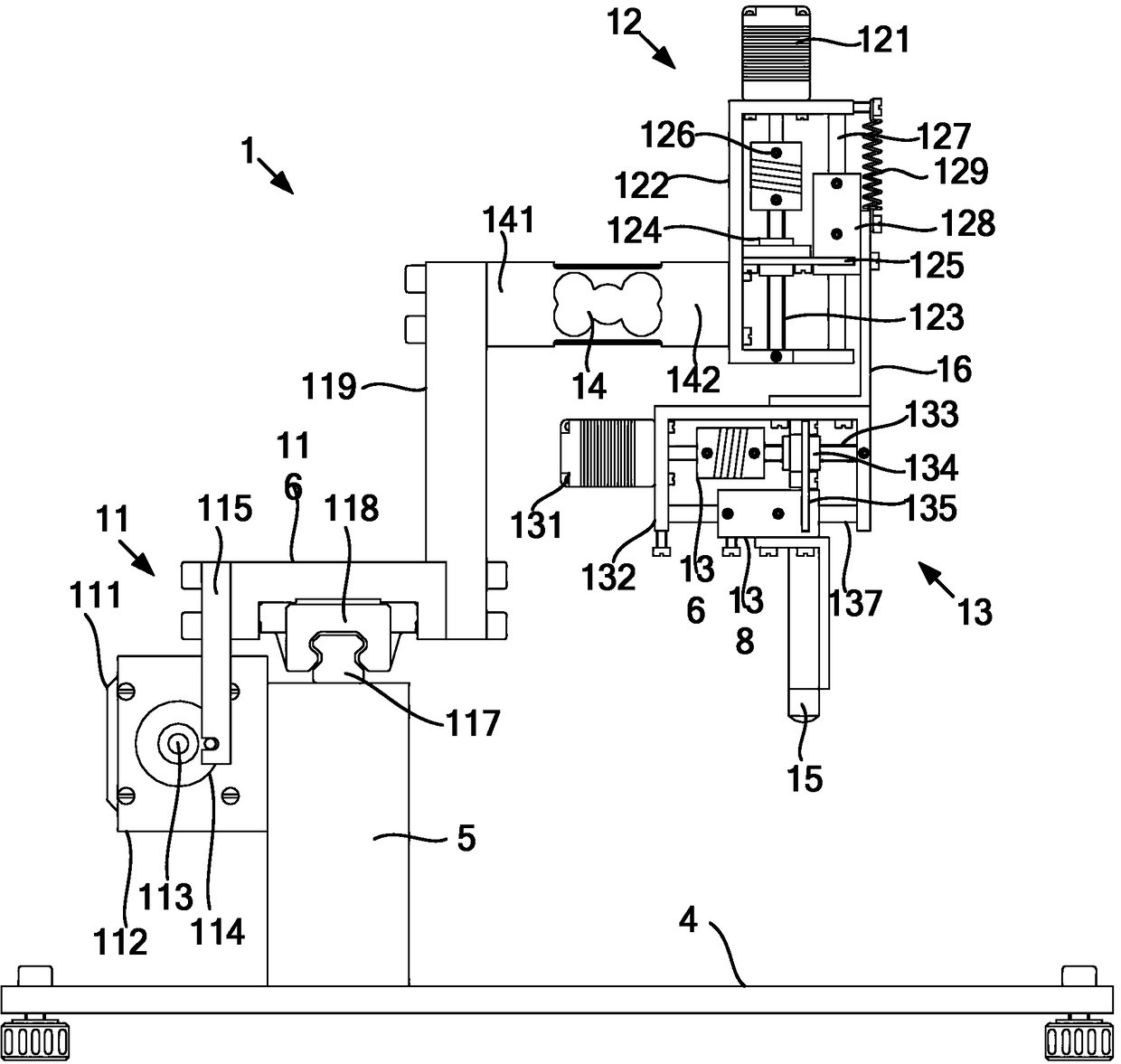
一种测量压头位置可调的脉象仪
授权日:
1900-01-01
公开(公告)号:
CN103271720A
申请日:
2013-05-13
公开(公告)日:
2013-09-04
当前申请(专利权)人:
深圳市汇思科电子科技有限公司 | 深圳清华大学研究院
发明人:
朱惠忠 | 肖文鹏 | 李月秋
简单同族:
CN103271720A | CN103271720B
简单同族成员数量:
2
简单同族被引用专利总数:
13
诉讼案件数:
0
法律状态/事件:
授权