首页
专利数据库
产业人才
行业动态
产业政策法规
维权援助
个人中心
登录/注册
详情
文本
图像
标题:
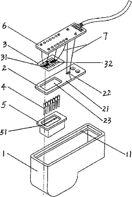
一种用于中医脉象检测装置中的换能装置
授权日:
2003-05-14
公开(公告)号:
CN2549901Y
申请日:
2002-07-01
公开(公告)日:
2003-05-14
当前申请(专利权)人:
成都三九数码医药设备有限公司深圳分公司
发明人:
赵新先 | 李展翅 | 吴平龙
简单同族:
CN2549901Y
简单同族成员数量:
1
简单同族被引用专利总数:
5
诉讼案件数:
0
法律状态/事件:
未缴年费 | 权利转移