首页
专利数据库
产业人才
行业动态
产业政策法规
维权援助
个人中心
登录/注册
详情
文本
图像
标题:
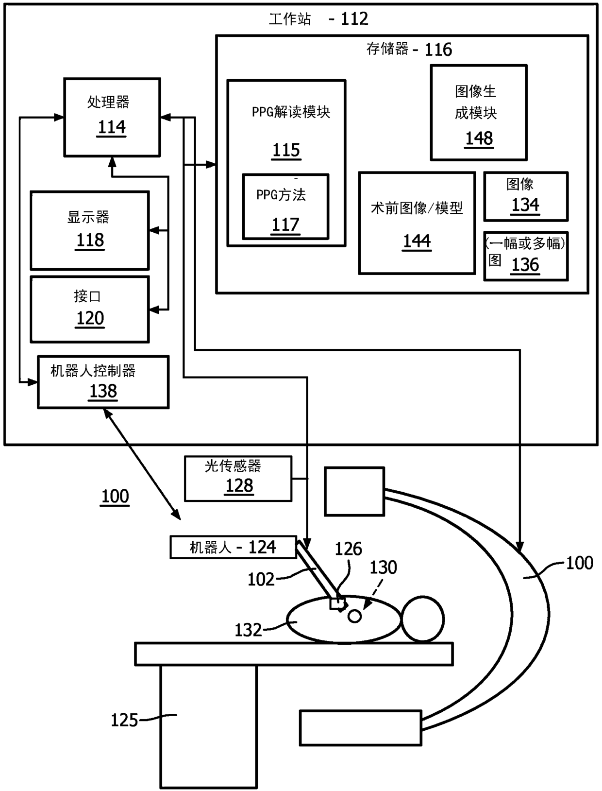
使用内窥镜图像上的光体积描记对通畅性的评估
授权日:
1900-01-01
公开(公告)号:
CN104427926A
申请日:
2013-06-20
公开(公告)日:
2015-03-18
当前申请(专利权)人:
皇家飞利浦有限公司
发明人:
H·埃尔哈瓦林 | A·波波维奇 | W·韦尔克鲁杰塞
简单同族:
CN104427926A | CN104427926B | EP2866643A1 | EP2866643B1 | JP2015525599A | JP6320374B2 | US20150164592A1 | US9750575 | WO2014001981A1 | WO2014001981A9
简单同族成员数量:
10
简单同族被引用专利总数:
5
诉讼案件数:
0
法律状态/事件:
授权