首页
专利数据库
产业人才
行业动态
产业政策法规
维权援助
个人中心
登录/注册
详情
文本
图像
标题:
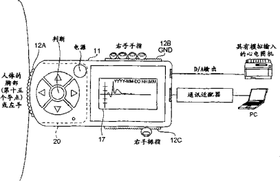
便携式生物数据测量装置
授权日:
1900-01-01
公开(公告)号:
CN1419888A
申请日:
2002-11-15
公开(公告)日:
2003-05-28
当前申请(专利权)人:
株式会社帕拉马技术
发明人:
前田竜雄
简单同族:
CN1419888A | JP2003144403A | JP3817163B2 | US20030097078A1 | US7149571
简单同族成员数量:
5
简单同族被引用专利总数:
160
诉讼案件数:
0
法律状态/事件:
驳回 | 复审