首页
专利数据库
产业人才
行业动态
产业政策法规
维权援助
个人中心
登录/注册
详情
文本
图像
标题:
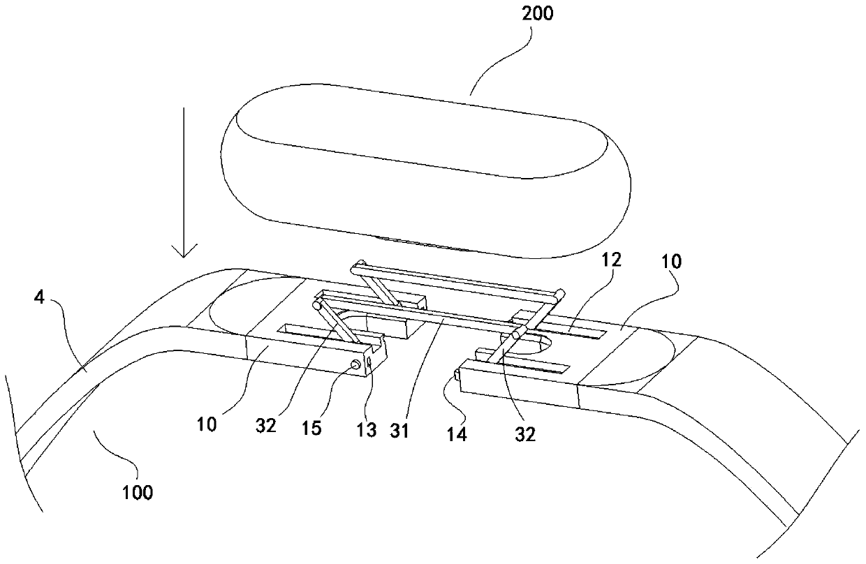
一种连接组件和具有该连接组件的穿戴设备
授权日:
1900-01-01
公开(公告)号:
CN110657336A
申请日:
2019-09-27
公开(公告)日:
2020-01-07
当前申请(专利权)人:
歌尔股份有限公司
发明人:
孙施展 | 陈重光 | 董科 | 于文豪 | 杨骁 | 唐伟 | 刘若宇 | 秦泗明
简单同族:
CN110657336A
简单同族成员数量:
1
简单同族被引用专利总数:
0
诉讼案件数:
0
法律状态/事件:
实质审查