首页
专利数据库
产业人才
行业动态
产业政策法规
维权援助
个人中心
登录/注册
详情
文本
图像
标题:
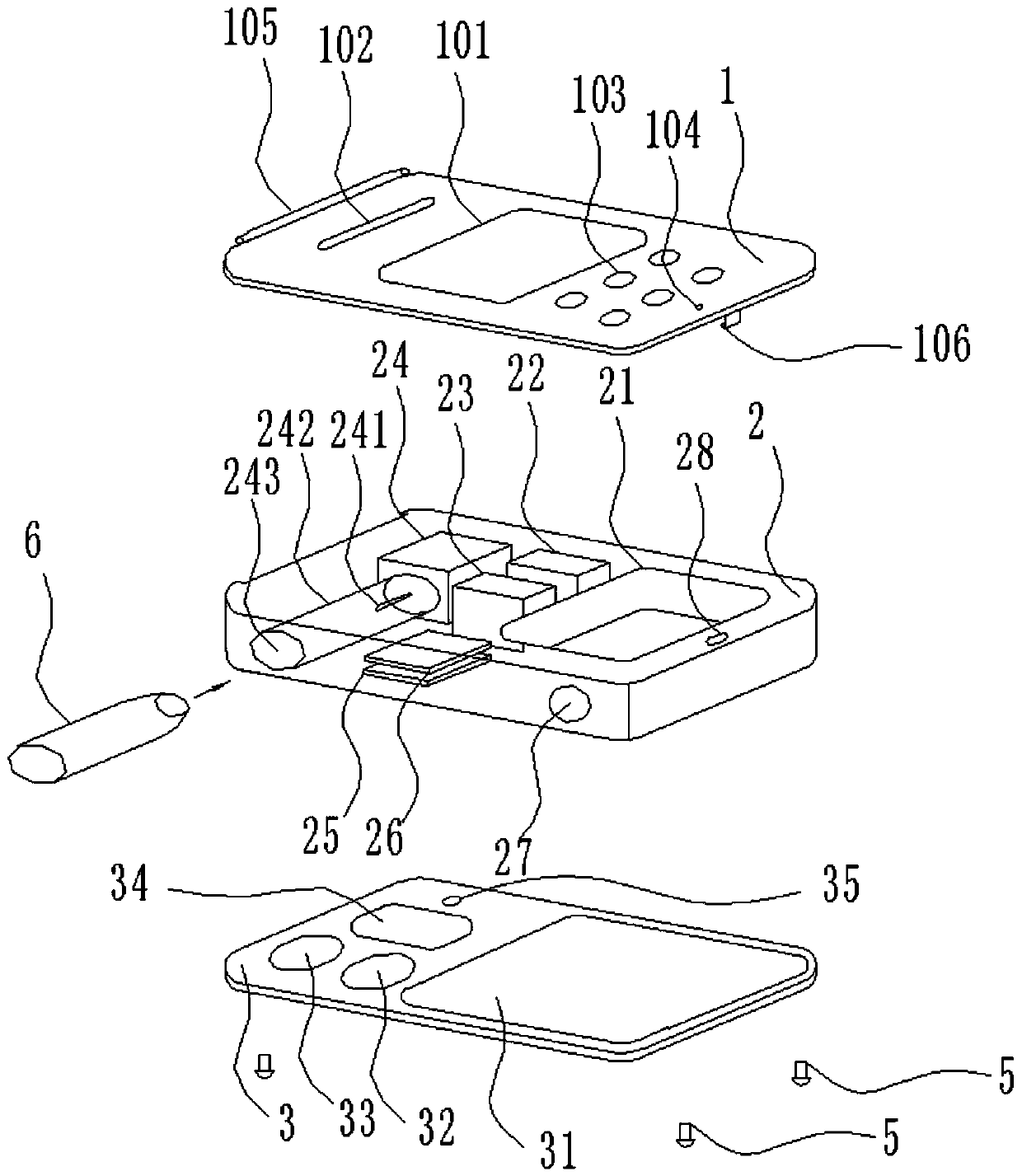
一种躁狂抑郁性精神病患者用治疗手表
授权日:
2020-06-30
公开(公告)号:
CN108209889B
申请日:
2018-01-03
公开(公告)日:
2020-06-30
当前申请(专利权)人:
赵美华
发明人:
赵美华 | 孙均芳 | 刘顺杰
简单同族:
CN108209889A | CN108209889B
简单同族成员数量:
2
简单同族被引用专利总数:
0
诉讼案件数:
0
法律状态/事件:
授权