首页
专利数据库
产业人才
行业动态
产业政策法规
维权援助
个人中心
登录/注册
详情
文本
图像
标题:
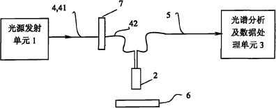
活体组织光学检测装置及其工作方法
授权日:
1900-01-01
公开(公告)号:
CN101049237A
申请日:
2007-04-28
公开(公告)日:
2007-10-10
当前申请(专利权)人:
马剑文 | 王成 | 徐安成 | 马博平
发明人:
马剑文 | 王成 | 徐安成 | 马博平
简单同族:
CN100506150C | CN101049237A
简单同族成员数量:
2
简单同族被引用专利总数:
10
诉讼案件数:
0
法律状态/事件:
未缴年费