首页
专利数据库
产业人才
行业动态
产业政策法规
维权援助
个人中心
登录/注册
详情
文本
图像
标题:
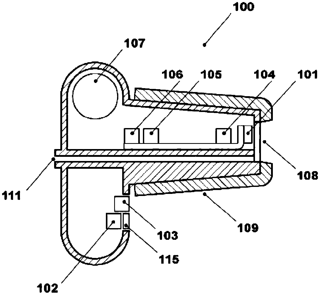
配置成测量鼓室温度的便携式生理监测仪
授权日:
1900-01-01
公开(公告)号:
CN109844473A
申请日:
2017-05-24
公开(公告)日:
2019-06-04
当前申请(专利权)人:
因诺瓦设计方案有限公司
发明人:
里昂·马什
简单同族:
AU2017270923A1 | BR112018074105A2 | CA3024925A1 | CN109844473A | EP3465114A1 | GB201609131D0 | GB2554632A | HK40008171A | JP2019523666A | KR1020190010637A | MX2018014409A | US20190212198A1 | WO2017203251A1
简单同族成员数量:
13
简单同族被引用专利总数:
4
诉讼案件数:
0
法律状态/事件:
实质审查