首页
专利数据库
产业人才
行业动态
产业政策法规
维权援助
个人中心
登录/注册
详情
文本
图像
标题:
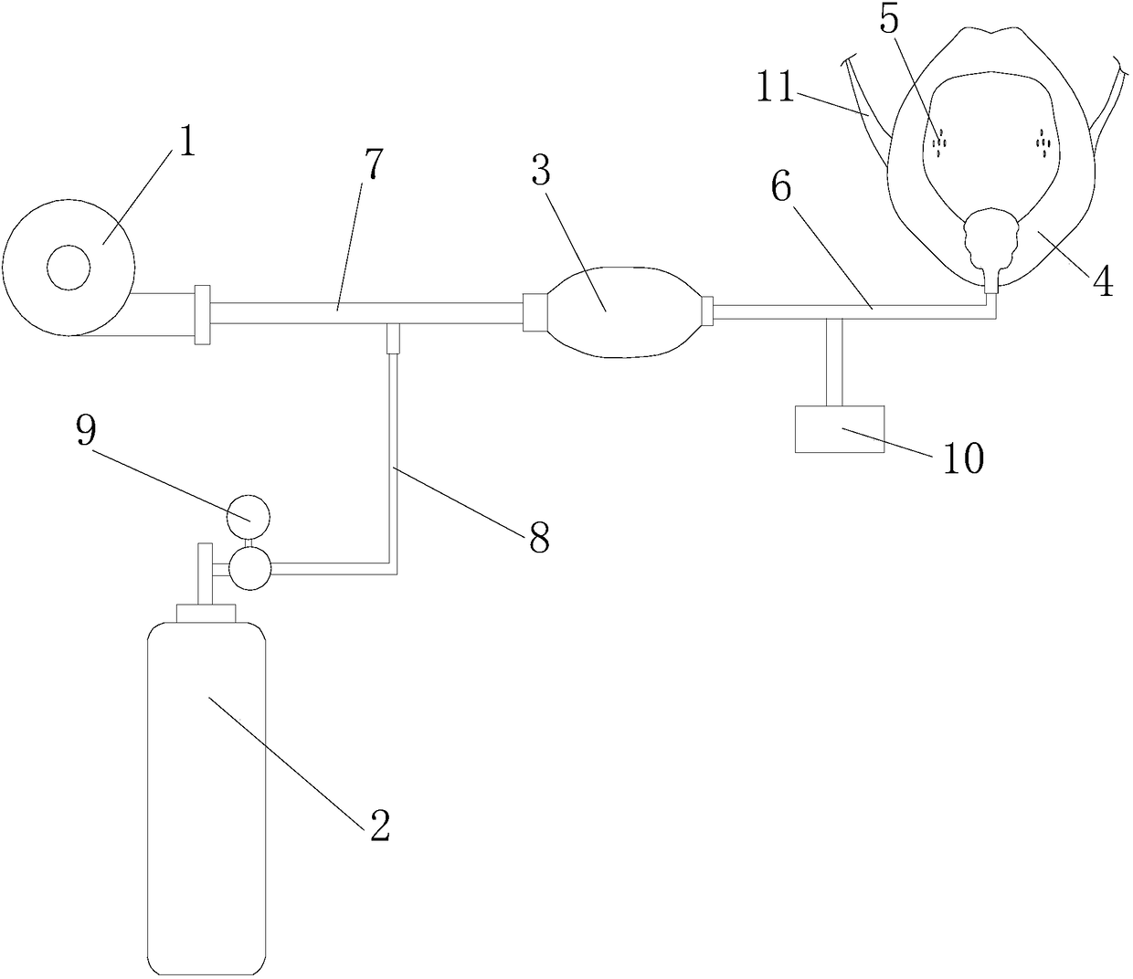
一种中枢性睡眠呼吸暂停二氧化碳吸入治疗装置
授权日:
2018-10-23
公开(公告)号:
CN105748069B
申请日:
2016-04-21
公开(公告)日:
2018-10-23
当前申请(专利权)人:
广州医科大学附属第一医院(广州呼吸中心)
发明人:
罗远明 | 陈永毅 | 罗英梅 | 邱志辉
简单同族:
CN105748069A | CN105748069B | US20170333664A1
简单同族成员数量:
3
简单同族被引用专利总数:
4
诉讼案件数:
0
法律状态/事件:
授权 | 权利转移