首页
专利数据库
产业人才
行业动态
产业政策法规
维权援助
个人中心
登录/注册
详情
文本
图像
标题:
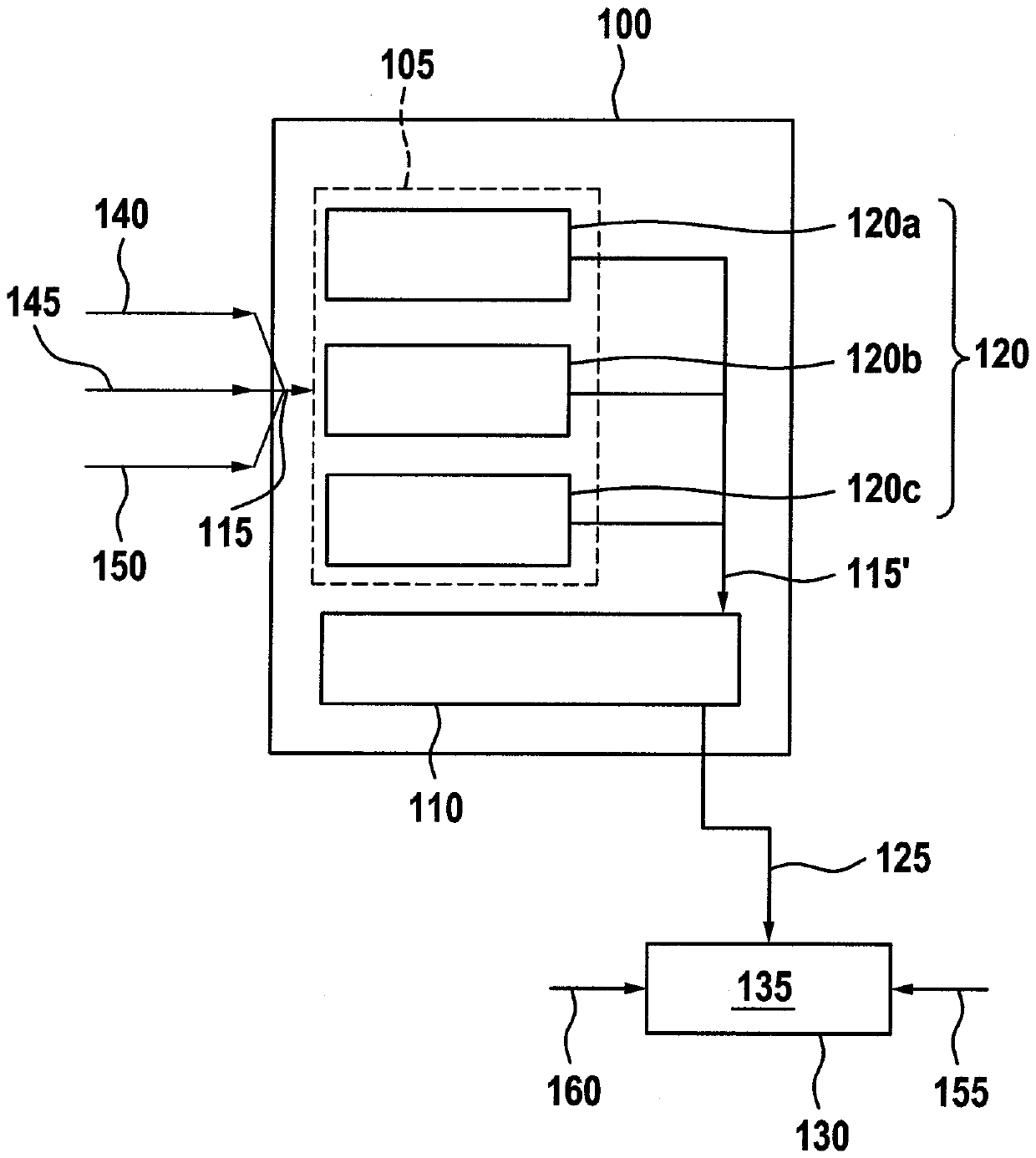
用于在移动设备中识别车辆的驾驶员的疲劳的方法和装置
授权日:
1900-01-01
公开(公告)号:
CN110525443A
申请日:
2019-05-22
公开(公告)日:
2019-12-03
当前申请(专利权)人:
罗伯特·博世有限公司
发明人:
B.施蒂勒 | S.赫夫勒
简单同族:
CN110525443A | DE102018208060B3
简单同族成员数量:
2
简单同族被引用专利总数:
0
诉讼案件数:
0
法律状态/事件:
公开