首页
专利数据库
产业人才
行业动态
产业政策法规
维权援助
个人中心
登录/注册
详情
文本
图像
标题:
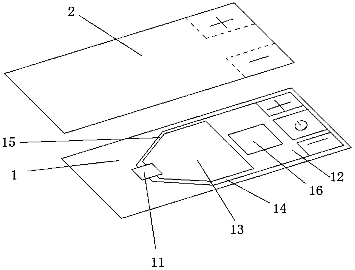
一种体表测量装置及测量系统
授权日:
1900-01-01
公开(公告)号:
CN104545828A
申请日:
2015-01-08
公开(公告)日:
2015-04-29
当前申请(专利权)人:
江波涛
发明人:
江波涛
简单同族:
CN104545828A
简单同族成员数量:
1
简单同族被引用专利总数:
11
诉讼案件数:
0
法律状态/事件:
驳回 | 复审