首页
专利数据库
产业人才
行业动态
产业政策法规
维权援助
个人中心
登录/注册
详情
文本
图像
标题:
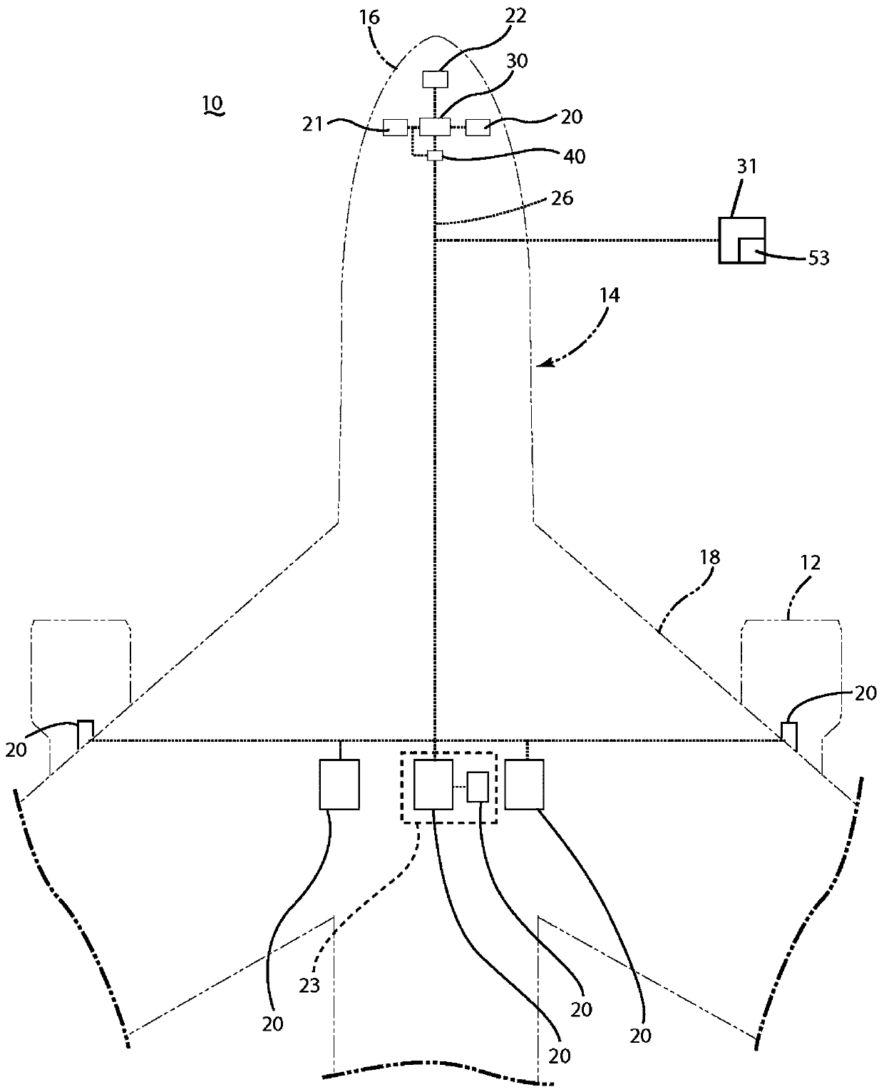
评估飞行员情绪状态的方法
授权日:
1900-01-01
公开(公告)号:
CN111310552A
申请日:
2019-12-11
公开(公告)日:
2020-06-19
当前申请(专利权)人:
通用电气航空系统有限公司
发明人:
斯特凡·亚历山大·施温特 | 亚历山大·S·陈 | 彼得·H·屠
简单同族:
CN111310552A
简单同族成员数量:
1
简单同族被引用专利总数:
0
诉讼案件数:
0
法律状态/事件:
公开