首页
专利数据库
产业人才
行业动态
产业政策法规
维权援助
个人中心
登录/注册
详情
文本
图像
标题:
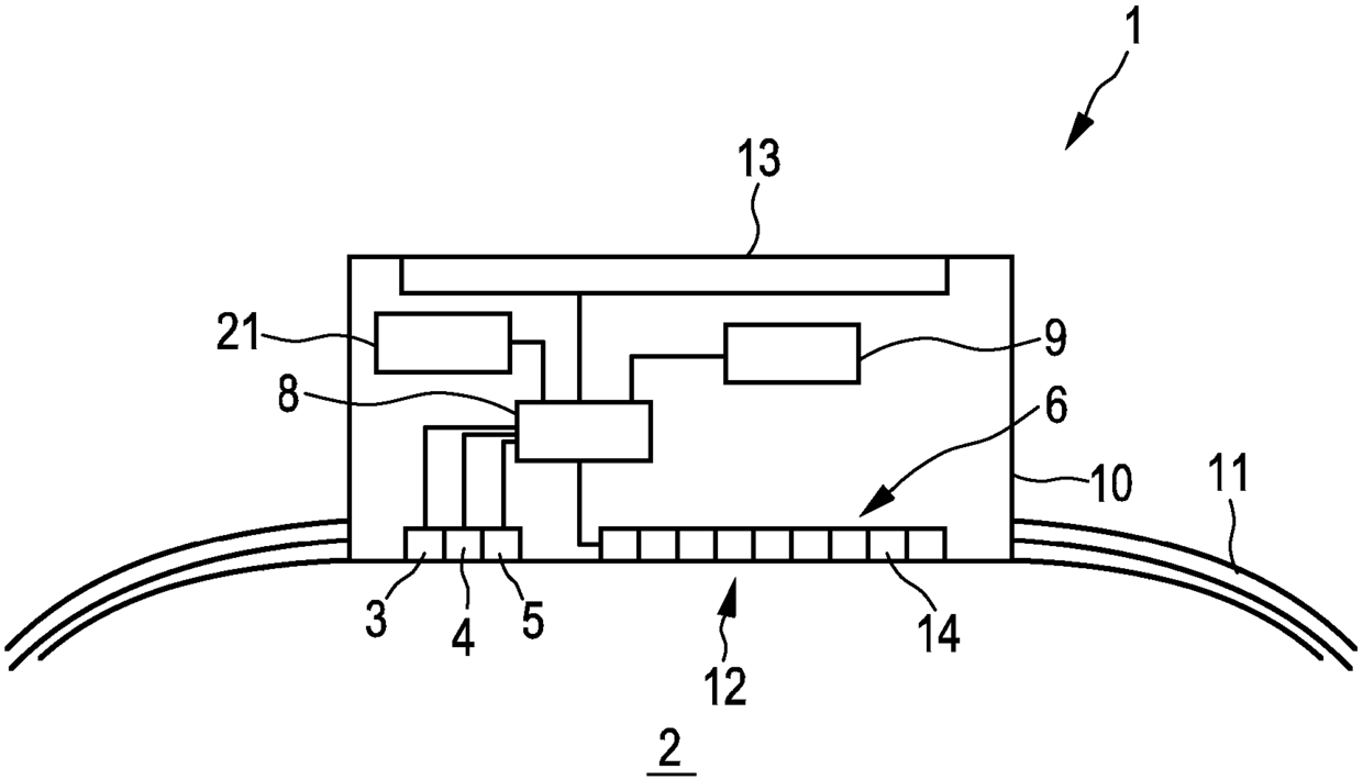
生理特性确定装置
授权日:
1900-01-01
公开(公告)号:
CN106102564A
申请日:
2015-02-13
公开(公告)日:
2016-11-09
当前申请(专利权)人:
皇家飞利浦有限公司
发明人:
C·N·普雷苏勒
简单同族:
CN106102564A | CN106102564B | EP3113670A1 | EP3113670B1 | JP2017507724A | JP2017507724A5 | JP6526694B2 | RU2016139135A | RU2016139135A3 | RU2684560C2 | US20170172435A1 | WO2015132063A1
简单同族成员数量:
12
简单同族被引用专利总数:
8
诉讼案件数:
0
法律状态/事件:
授权