标题:
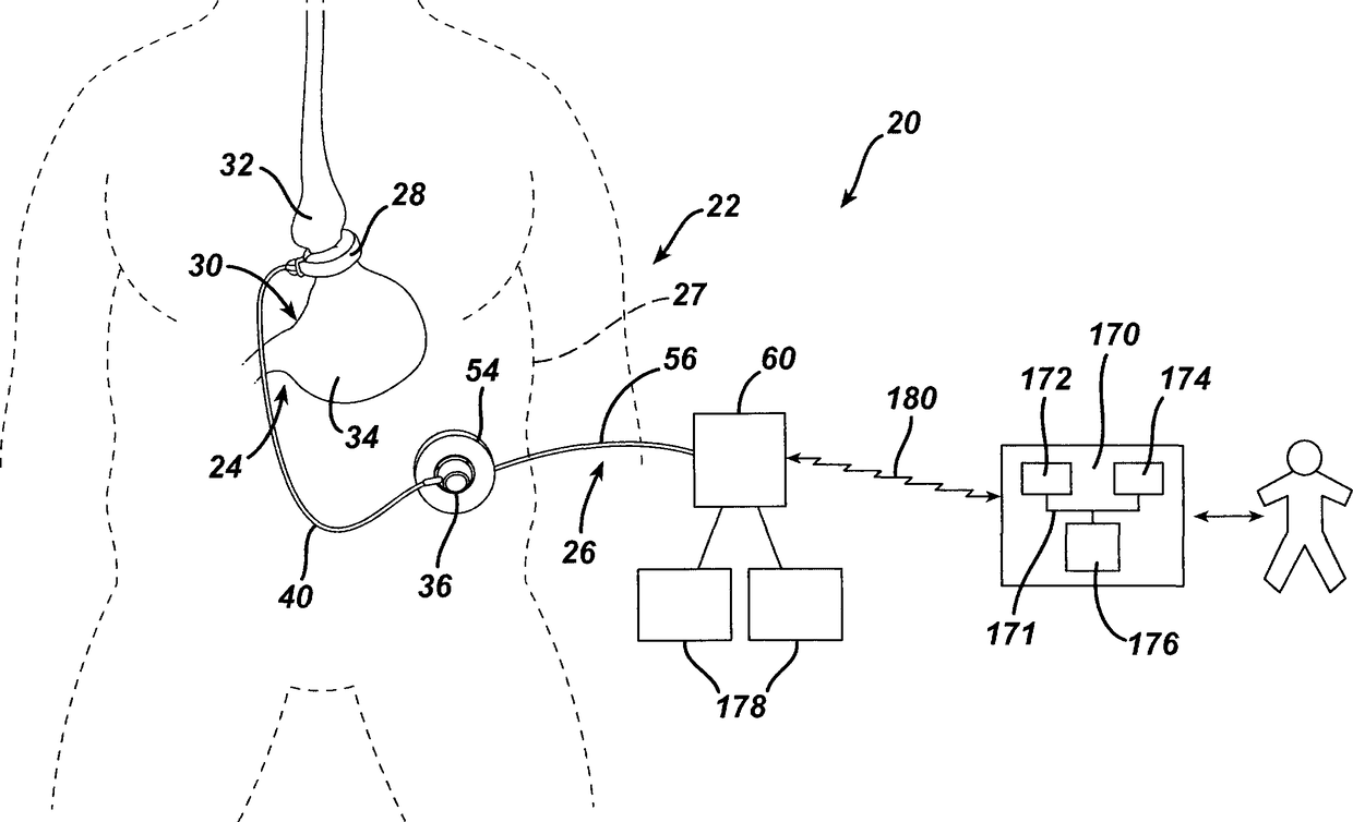
对可植入限制装置和数据记录器的生理参数分析
授权日:
2013-09-04
公开(公告)号:
CN101612036B
申请日:
2009-03-02
公开(公告)日:
2013-09-04
当前申请(专利权)人:
伊西康内外科公司
发明人:
D·F·小德鲁戈斯 | P·布罗克迈耶 | M·A·伯杰 | R·T·拜拉姆 | K·R·多尔 | G·M·盖约索 | D·R·简森 | D·T·克鲁玛纳克尔 | A·L·玛科特 | M·S·奥尔蒂斯 | D·N·普莱西亚 | D·C·耶茨
简单同族:
BRPI0901428A2 | BRPI0901428B1 | CN101612036A | CN101612036B | EP2095798A1 | EP2095798B1 | HK1137326A | HK1137326A1 | JP2009207893A | JP5595668B2 | RU2009107263A | RU2501519C2 | US20090222065A1 | US8152710
简单同族成员数量:
14
简单同族被引用专利总数:
117
诉讼案件数:
0
法律状态/事件:
授权