首页
专利数据库
产业人才
行业动态
产业政策法规
维权援助
个人中心
登录/注册
详情
文本
图像
标题:
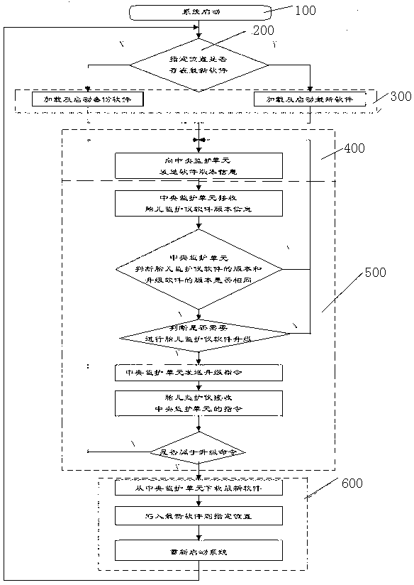
一种胎儿监护仪软件网络安全升级方法及系统
授权日:
1900-01-01
公开(公告)号:
CN102999365A
申请日:
2012-12-05
公开(公告)日:
2013-03-27
当前申请(专利权)人:
深圳市理邦精密仪器股份有限公司
发明人:
李美升 | 苏敏华 | 包静 | 袁婷
简单同族:
CN102999365A | CN102999365B
简单同族成员数量:
2
简单同族被引用专利总数:
0
诉讼案件数:
0
法律状态/事件:
授权 | 无效程序