首页
专利数据库
产业人才
行业动态
产业政策法规
维权援助
个人中心
登录/注册
详情
文本
图像
标题:
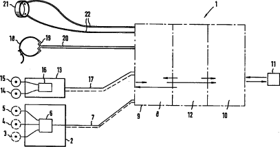
生理传感系统
授权日:
2006-08-16
公开(公告)号:
CN1269451C
申请日:
2001-09-25
公开(公告)日:
2006-08-16
当前申请(专利权)人:
西门子公司
发明人:
迈克尔・克雷默 | 沃尔特・梅尔曾多夫 | 乌尔里克・谢策尔
简单同族:
CN1269451C | CN1348742A | DE10047365A1 | DE10047365B4 | FR2814358A1 | FR2814358B1 | JP2002136502A | JP4339535B2 | US20020077560A1 | US6711434
简单同族成员数量:
10
简单同族被引用专利总数:
63
诉讼案件数:
0
法律状态/事件:
授权