首页
专利数据库
产业人才
行业动态
产业政策法规
维权援助
个人中心
登录/注册
详情
文本
图像
标题:
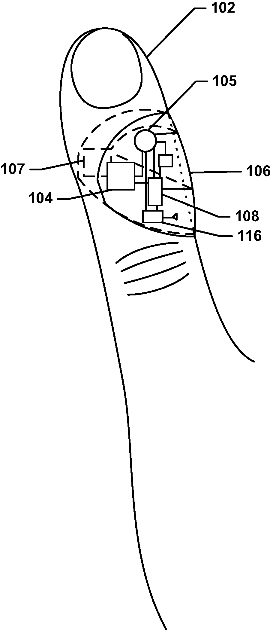
追踪到生命体征测量传感器的接触质量
授权日:
1900-01-01
公开(公告)号:
CN108882860A
申请日:
2017-02-27
公开(公告)日:
2018-11-23
当前申请(专利权)人:
高通股份有限公司
发明人:
R·S·巴拉姆 | R·B·甘顿 | S·迪基
简单同族:
CN108882860A | EP3432771A1 | EP3432771B1 | US10085639 | US20170273560A1 | WO2017165084A1
简单同族成员数量:
6
简单同族被引用专利总数:
8
诉讼案件数:
0
法律状态/事件:
实质审查