首页
专利数据库
产业人才
行业动态
产业政策法规
维权援助
个人中心
登录/注册
详情
文本
图像
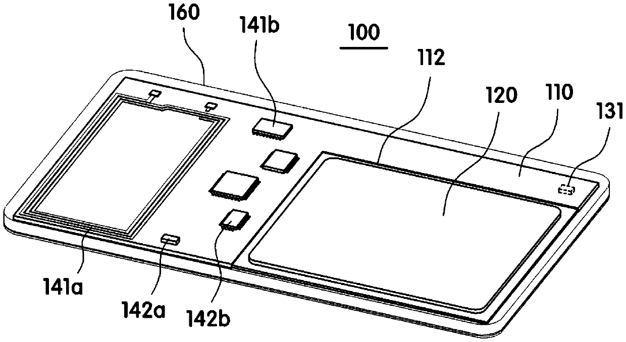
标题:
贴片型传感器模块
授权日:
1900-01-01
公开(公告)号:
CN110072437A
申请日:
2017-12-12
公开(公告)日:
2019-07-30
当前申请(专利权)人:
阿莫生命科学有限公司
发明人:
金范镇 | 郑允姬 | 李智贤 | 柳炅铉
简单同族:
CN110072437A | US20190328327A1 | WO2018110932A1
简单同族成员数量:
3
简单同族被引用专利总数:
0
诉讼案件数:
0
法律状态/事件:
实质审查