首页
专利数据库
产业人才
行业动态
产业政策法规
维权援助
个人中心
登录/注册
详情
文本
图像
标题:
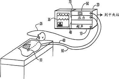
对临床患者监视功能的超声成像加强
授权日:
1900-01-01
公开(公告)号:
CN1688256A
申请日:
2003-02-21
公开(公告)日:
2005-10-26
当前申请(专利权)人:
皇家飞利浦电子股份有限公司
发明人:
R·D·加茨克
简单同族:
AT517580T | AU2003248357A1 | CN100413470C | CN1688256A | EP1480562A1 | EP1480562B1 | JP2006505294A | US20030163045A1 | US6705992 | WO2003071951A1
简单同族成员数量:
10
简单同族被引用专利总数:
118
诉讼案件数:
0
法律状态/事件:
授权