首页
专利数据库
产业人才
行业动态
产业政策法规
维权援助
个人中心
登录/注册
详情
文本
图像
标题:
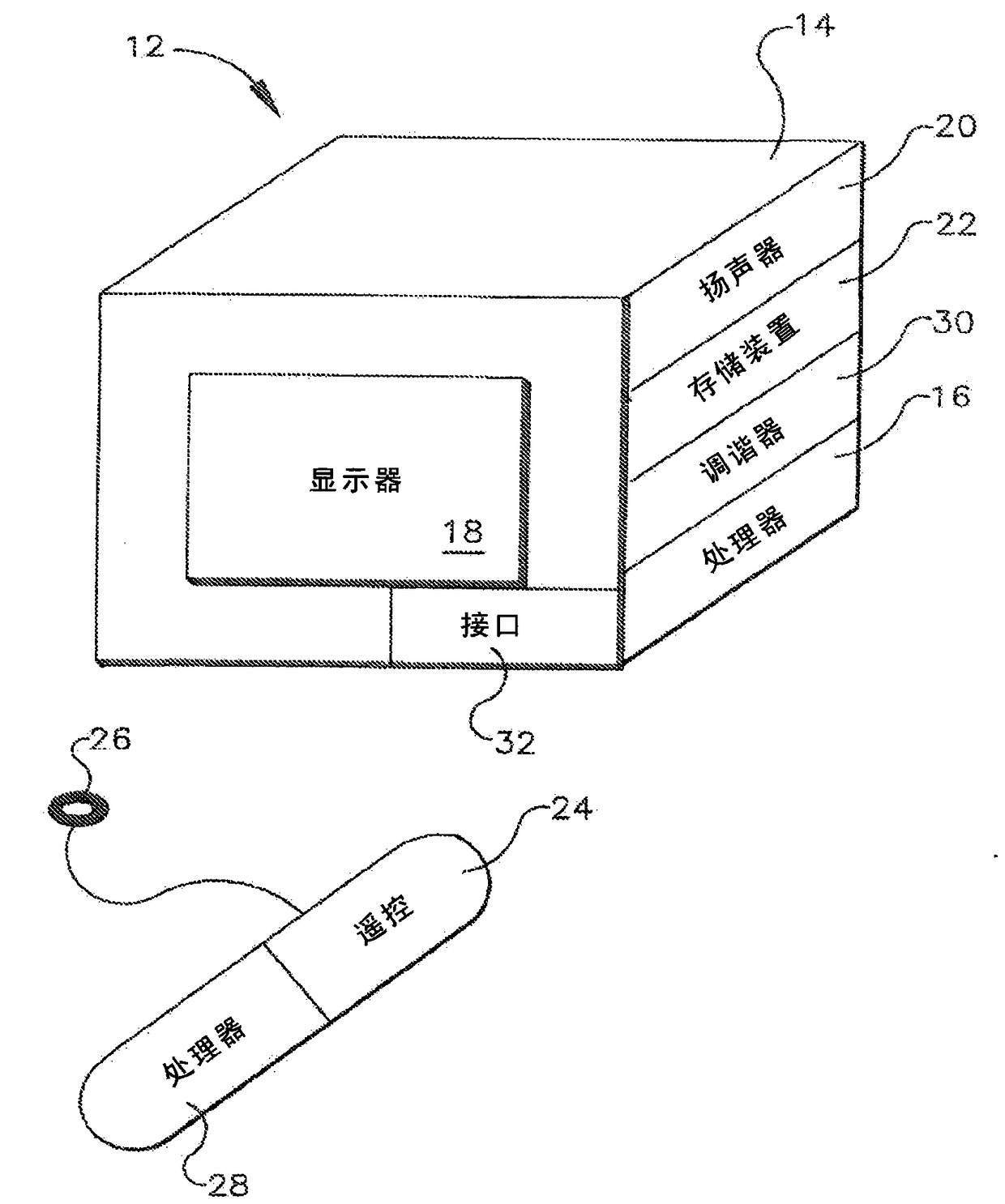
使用TV作为健康监控器
授权日:
1900-01-01
公开(公告)号:
CN102450999A
申请日:
2011-08-31
公开(公告)日:
2012-05-16
当前申请(专利权)人:
索尼公司
发明人:
苏拉吉特・阿德希卡瑞
简单同族:
CN102450999A | US20120095302A1
简单同族成员数量:
2
简单同族被引用专利总数:
16
诉讼案件数:
0
法律状态/事件:
撤回