首页
专利数据库
产业人才
行业动态
产业政策法规
维权援助
个人中心
登录/注册
详情
文本
图像
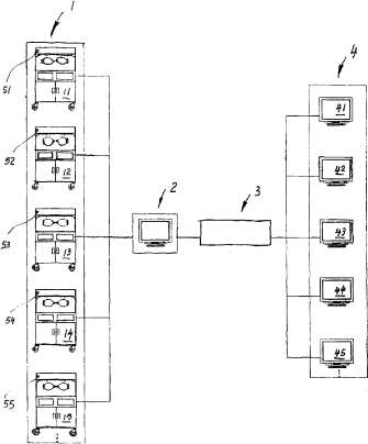
标题:
婴儿护理网络监护装置
授权日:
2007-10-17
公开(公告)号:
CN200960246Y
申请日:
2006-06-14
公开(公告)日:
2007-10-17
当前申请(专利权)人:
宁波戴维医疗器械股份有限公司
发明人:
陈再宏
简单同族:
CN200960246Y
简单同族成员数量:
1
简单同族被引用专利总数:
10
诉讼案件数:
0
法律状态/事件:
期限届满 | 权利转移