首页
专利数据库
产业人才
行业动态
产业政策法规
维权援助
个人中心
登录/注册
详情
文本
图像
标题:
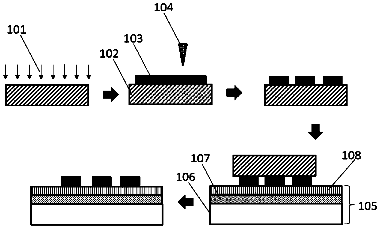
一种表皮电子器件和多模态表皮电子传感器的制备方法
授权日:
1900-01-01
公开(公告)号:
CN110769610A
申请日:
2019-11-27
公开(公告)日:
2020-02-07
当前申请(专利权)人:
华中科技大学
发明人:
臧剑锋 | 曾志康 | 黄钊 | 吴志刚
简单同族:
CN110769610A
简单同族成员数量:
1
简单同族被引用专利总数:
0
诉讼案件数:
0
法律状态/事件:
实质审查