首页
专利数据库
产业人才
行业动态
产业政策法规
维权援助
个人中心
登录/注册
详情
文本
图像
标题:
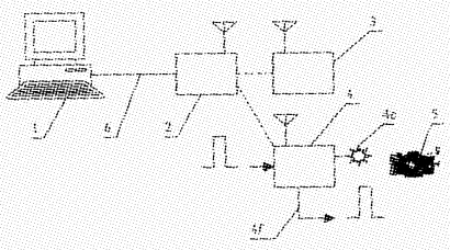
肌电信号采集和动作形态同步的方法
授权日:
2009-06-17
公开(公告)号:
CN100500086C
申请日:
2005-11-26
公开(公告)日:
2009-06-17
当前申请(专利权)人:
安徽埃力智能科技有限公司
发明人:
马祖长
简单同族:
CN100500086C | CN1799497A
简单同族成员数量:
2
简单同族被引用专利总数:
10
诉讼案件数:
0
法律状态/事件:
授权 | 许可