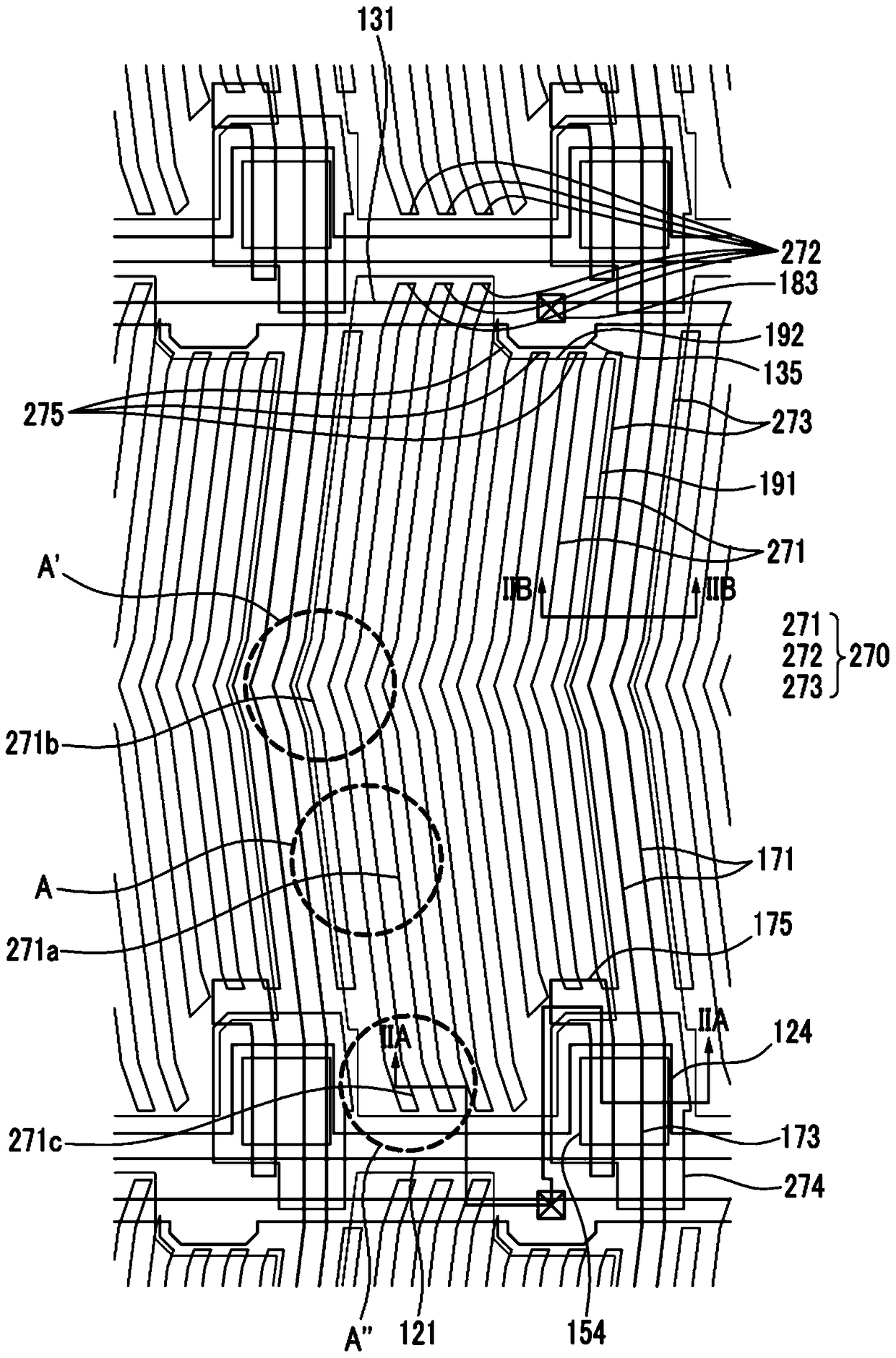
标题:
液晶显示器件
授权日:
2018-07-13
公开(公告)号:
CN105116638B
申请日:
2010-12-20
公开(公告)日:
2018-07-13
当前申请(专利权)人:
三星显示有限公司
发明人:
宋长根 | 咸然植 | 金康佑 | 全渊文 | 李正贤
简单同族:
CN102103295A | CN102103295B | CN105116638A | CN105116638B | JP2011128618A | JP2014178714A | JP5774846B2 | JP6181005B2 | TW201133072A | TW201602684A | TWI509317B | TWI561895B | US10488726 | US20110149186A1 | US20140313447A1 | US20170261829A1 | US20190285956A1 | US8804081 | US9664968
简单同族成员数量:
19
简单同族被引用专利总数:
59
诉讼案件数:
0
法律状态/事件:
授权