首页
专利数据库
产业人才
行业动态
产业政策法规
维权援助
个人中心
登录/注册
详情
文本
图像
标题:
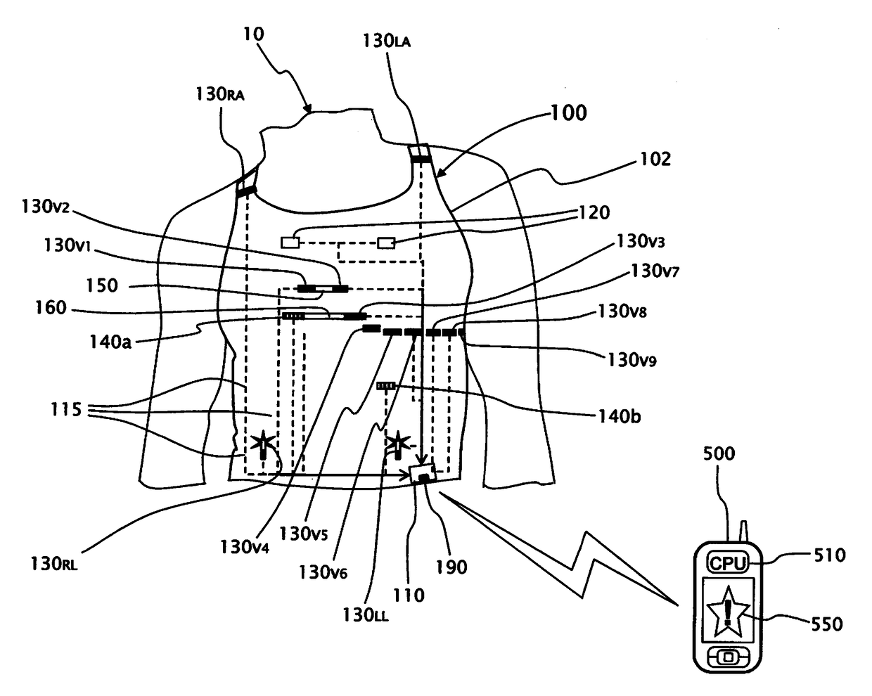
独立的无干扰的可穿着的健康监测和警报系统
授权日:
1900-01-01
公开(公告)号:
CN103781404A
申请日:
2012-06-19
公开(公告)日:
2014-05-07
当前申请(专利权)人:
健康监测有限公司
发明人:
约拉姆·罗门
简单同族:
AU2012274931A1 | BR112013032419A2 | CA2839954A1 | CN103781404A | EP2720606A1 | EP2720606A4 | IN266DELNP2014A | JP2014519944A | KR1020140058502A | US20140206948A1 | US9895105 | WO2012176193A1
简单同族成员数量:
12
简单同族被引用专利总数:
99
诉讼案件数:
0
法律状态/事件:
撤回