首页
专利数据库
产业人才
行业动态
产业政策法规
维权援助
个人中心
登录/注册
详情
文本
图像
标题:
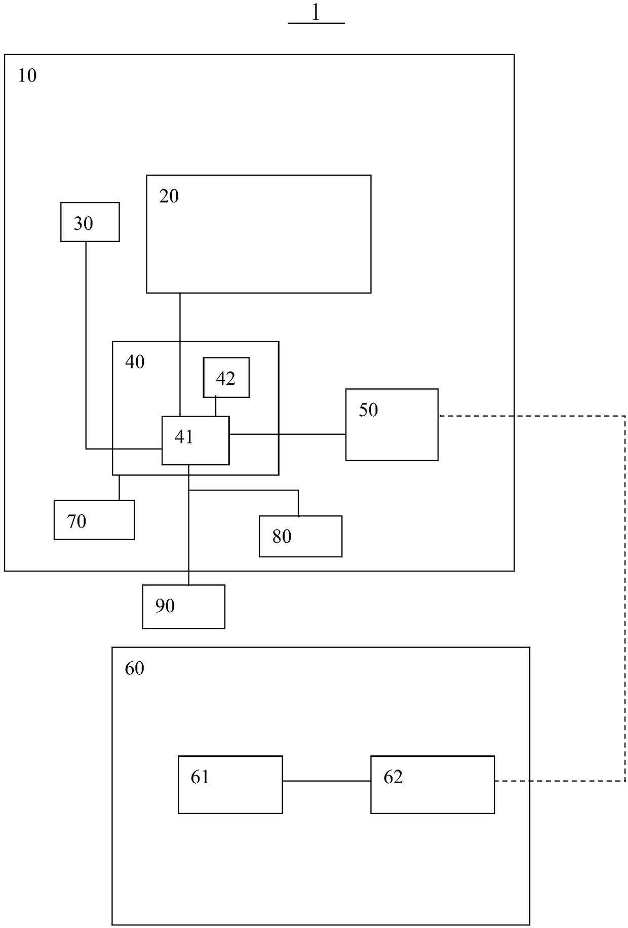
一种智能床及其控制流程
授权日:
1900-01-01
公开(公告)号:
CN108201492A
申请日:
2017-02-06
公开(公告)日:
2018-06-26
当前申请(专利权)人:
床的世界股份有限公司 | 汇嘉健康生活科技股份有限公司
发明人:
陈英杰 | 杨淑贞 | 刘智桓 | 陈达翔 | 陈星宏
简单同族:
CN108201492A | GB201713628D0 | GB2558028A | JP2018094372A | JP6534698B2 | SG10201709822UA | TW201822681A | TWI663936B | US10398357 | US20180168485A1
简单同族成员数量:
10
简单同族被引用专利总数:
4
诉讼案件数:
0
法律状态/事件:
实质审查