首页
专利数据库
产业人才
行业动态
产业政策法规
维权援助
个人中心
登录/注册
详情
文本
图像
标题:
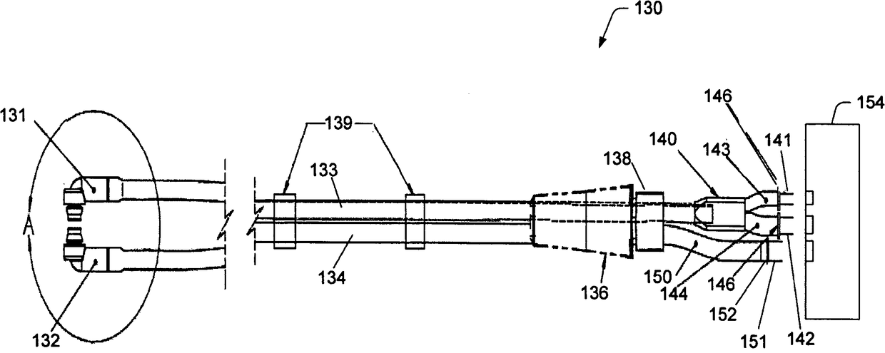
一次性SpO2夹具
授权日:
2015-01-14
公开(公告)号:
CN102458230B
申请日:
2010-05-04
公开(公告)日:
2015-01-14
当前申请(专利权)人:
皇家飞利浦电子股份有限公司
发明人:
S·克斯特列
简单同族:
CN102458230A | CN102458230B | EP2440113A1 | EP2440113B1 | JP2012529325A | JP6144489B2 | US10156686 | US20120071740A1 | WO2010143083A1
简单同族成员数量:
9
简单同族被引用专利总数:
17
诉讼案件数:
0
法律状态/事件:
授权