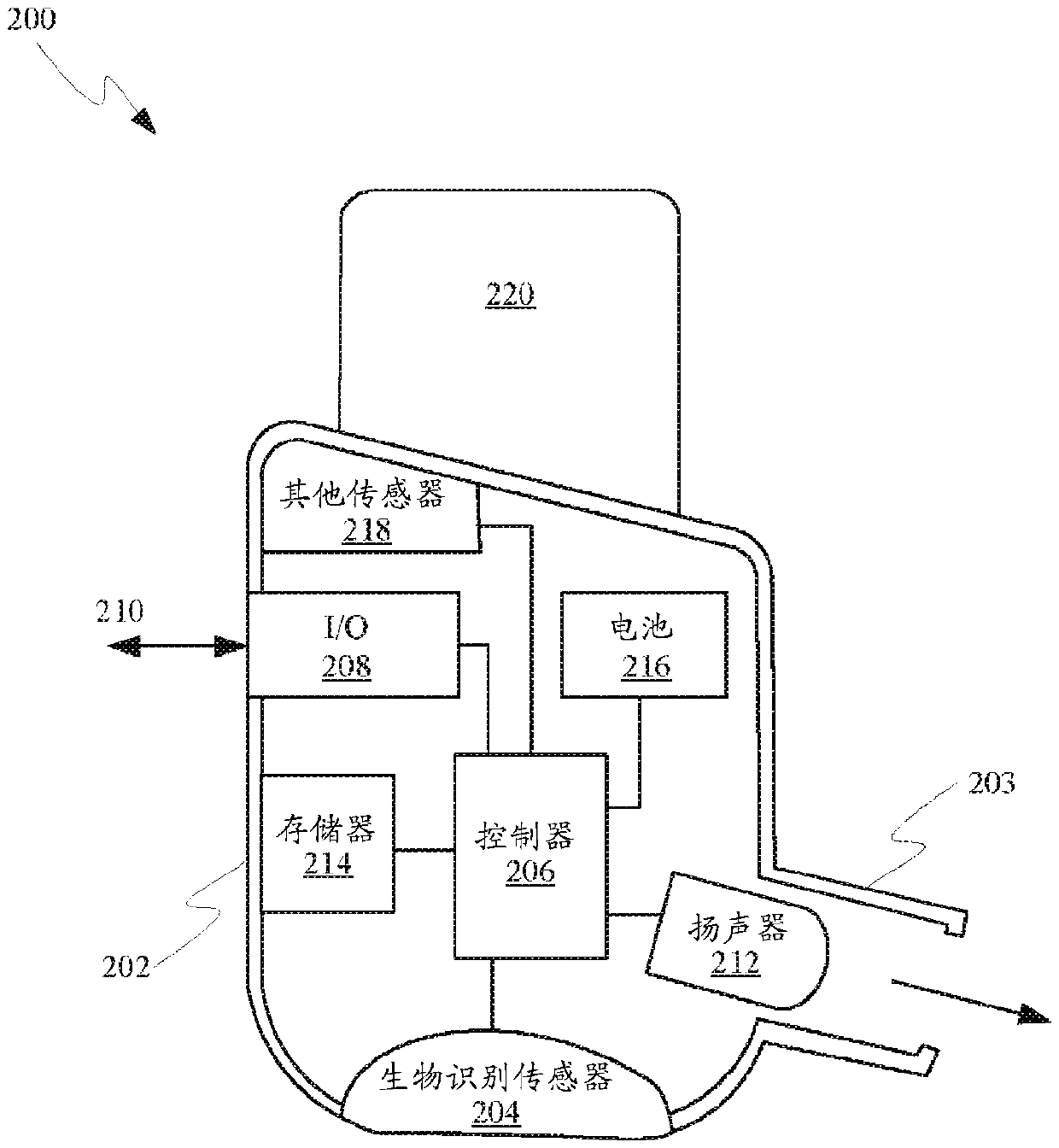
标题:
具有生物识别感测功能的耳塞
授权日:
2020-01-17
公开(公告)号:
CN107852540B
申请日:
2016-08-25
公开(公告)日:
2020-01-17
当前申请(专利权)人:
苹果公司
发明人:
P·钱 | E·夏哈安 | S·C·格里克尔 | J·J·勒布朗
简单同族:
CN107852540A | CN107852540B | CN111263256A | EP3314907A1 | HK1251756A | KR101973538B1 | KR1020180021114A | KR1020190044703A | KR102058327B1 | TW201714460A | TW201830978A | TWI631857B | US10149041 | US10484783 | US20170078780A1 | US20170078781A1 | US20170078785A1 | US20180063621A1 | US20190116415A1 | US9699546 | US9716937 | US9838775 | WO2017048476A1
简单同族成员数量:
23
简单同族被引用专利总数:
118
诉讼案件数:
0
法律状态/事件:
授权