首页
专利数据库
产业人才
行业动态
产业政策法规
维权援助
个人中心
登录/注册
详情
文本
图像
标题:
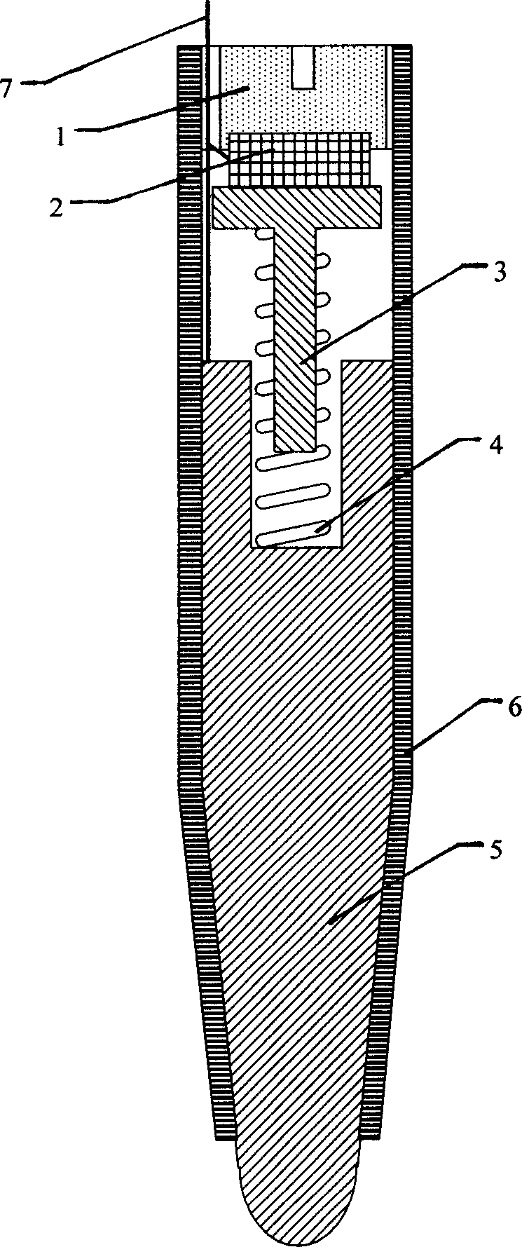
一种具有测力装置的生物阻抗、电阻或电位探测电极
授权日:
2006-09-20
公开(公告)号:
CN2817728Y
申请日:
2005-08-04
公开(公告)日:
2006-09-20
当前申请(专利权)人:
浙江大学
发明人:
孙扬 | 李江
简单同族:
CN2817728Y
简单同族成员数量:
1
简单同族被引用专利总数:
0
诉讼案件数:
0
法律状态/事件:
未缴年费