首页
专利数据库
产业人才
行业动态
产业政策法规
维权援助
个人中心
登录/注册
详情
文本
图像
标题:
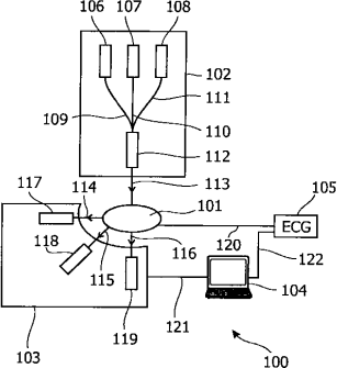
光学层析成像装置
授权日:
2012-04-25
公开(公告)号:
CN101262812B
申请日:
2006-09-07
公开(公告)日:
2012-04-25
当前申请(专利权)人:
皇家飞利浦电子股份有限公司
发明人:
T·尼尔森 | T·克勒
简单同族:
CN101262812A | CN101262812B | EP1926419A2 | EP1926419B1 | JP2009507546A | JP2009507546A5 | JP5451072B2 | US20080242960A1 | US8406840 | WO2007031911A2 | WO2007031911A3
简单同族成员数量:
11
简单同族被引用专利总数:
9
诉讼案件数:
0
法律状态/事件:
授权