首页
专利数据库
产业人才
行业动态
产业政策法规
维权援助
个人中心
登录/注册
详情
文本
图像
标题:
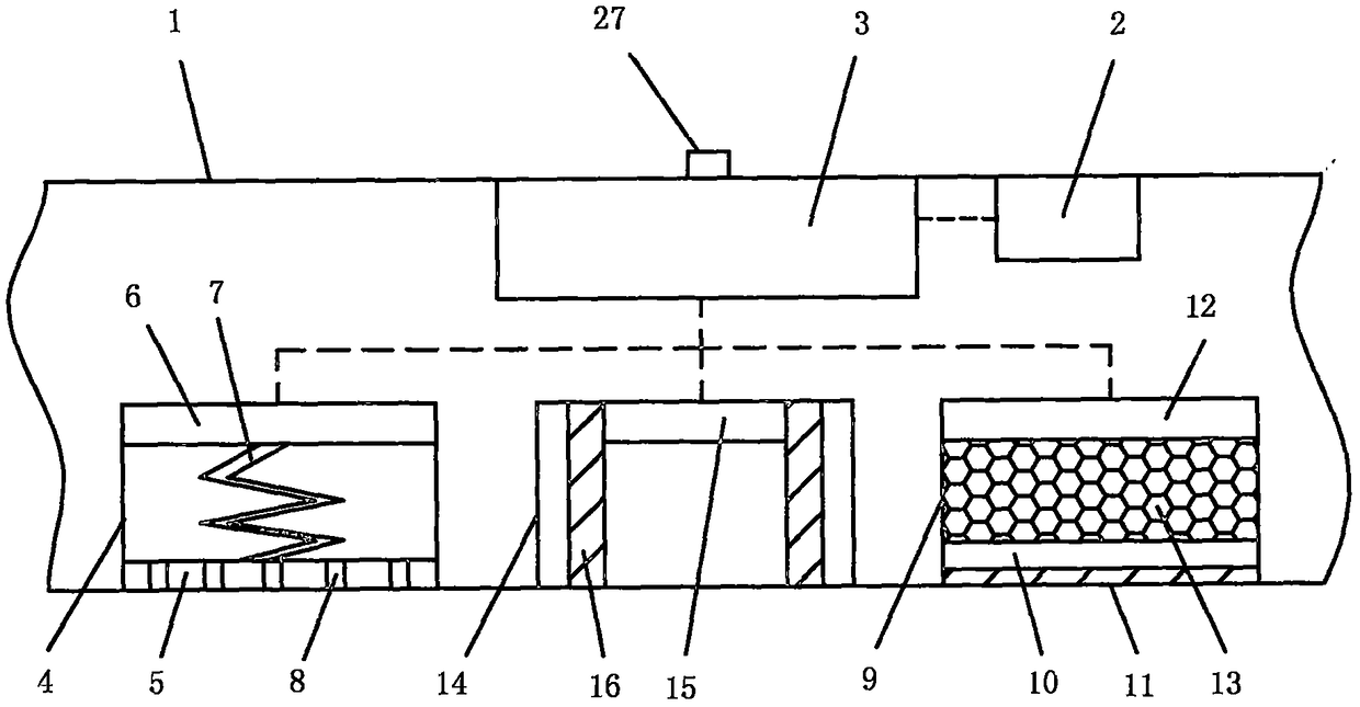
一种用于检测人体热应激指标的便携手环及其检测方法
授权日:
2018-08-17
公开(公告)号:
CN105852818B
申请日:
2016-03-18
公开(公告)日:
2018-08-17
当前申请(专利权)人:
华北电力大学(保定)
发明人:
郑国忠 | 李志灏 | 朱烨璇 | 林安妮
简单同族:
CN105852818A | CN105852818B
简单同族成员数量:
2
简单同族被引用专利总数:
0
诉讼案件数:
0
法律状态/事件:
授权