首页
专利数据库
产业人才
行业动态
产业政策法规
维权援助
个人中心
登录/注册
详情
文本
图像
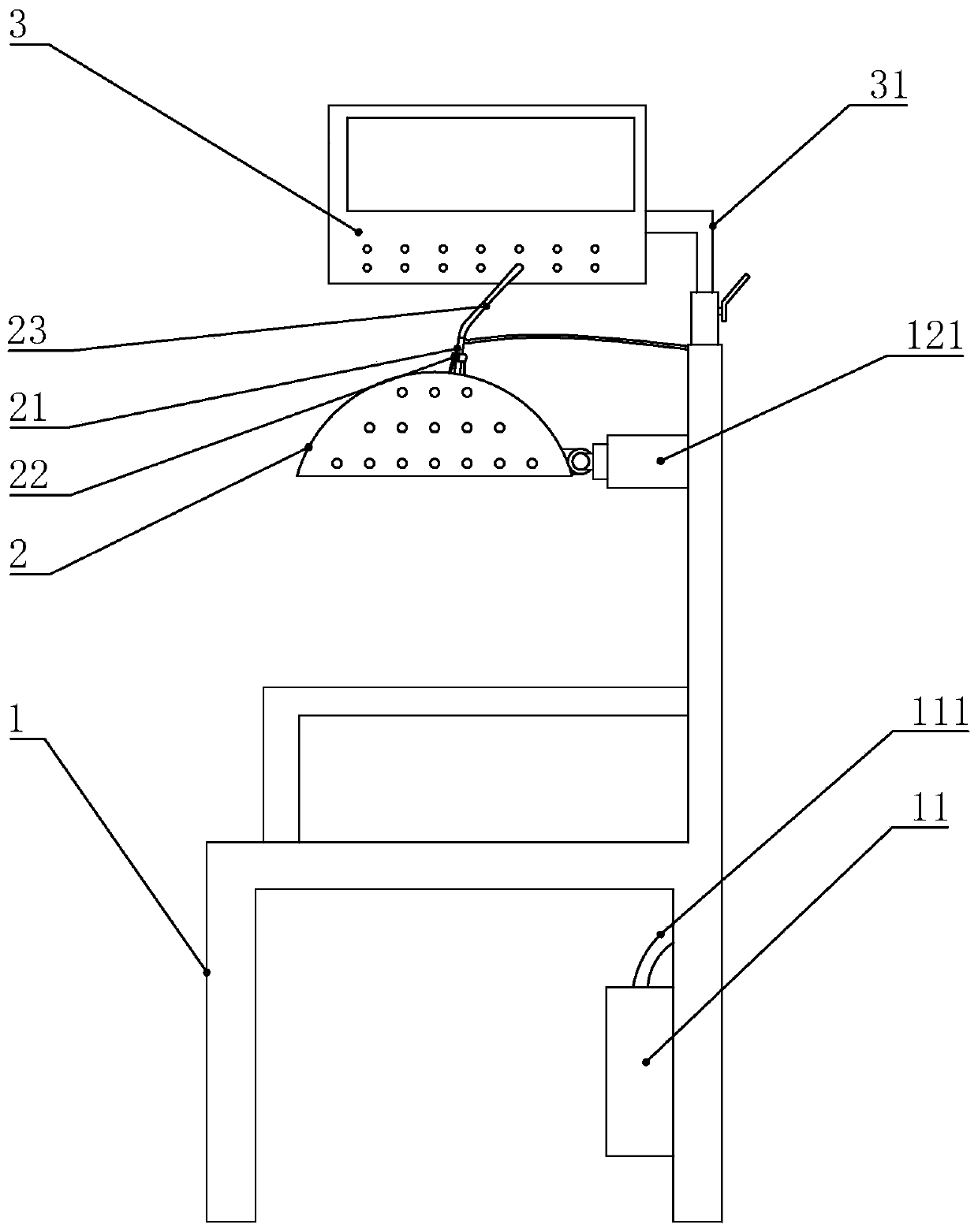
标题:
一种新型脑电图监测仪
授权日:
1900-01-01
公开(公告)号:
CN110464340A
申请日:
2019-08-07
公开(公告)日:
2019-11-19
当前申请(专利权)人:
温州市中心医院
发明人:
戴君侠 | 孙军 | 林群 | 蔡建勇 | 陆川 | 陈献东 | 陈茂华 | 李志伟 | 巴华君
简单同族:
CN110464340A
简单同族成员数量:
1
简单同族被引用专利总数:
0
诉讼案件数:
0
法律状态/事件:
实质审查