首页
专利数据库
产业人才
行业动态
产业政策法规
维权援助
个人中心
登录/注册
详情
文本
图像
标题:
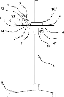
一种用于踏车运动中桡动脉搏测量的手臂固定装置
授权日:
2014-04-16
公开(公告)号:
CN102697486B
申请日:
2012-05-30
公开(公告)日:
2014-04-16
当前申请(专利权)人:
北京福瑞润康生物技术有限公司
发明人:
杨琳 | 李锟 | 张松 | 杨益民 | 李旭雯
简单同族:
CN102697486A | CN102697486B
简单同族成员数量:
2
简单同族被引用专利总数:
0
诉讼案件数:
0
法律状态/事件:
授权 | 权利转移