首页
专利数据库
产业人才
行业动态
产业政策法规
维权援助
个人中心
登录/注册
详情
文本
图像
标题:
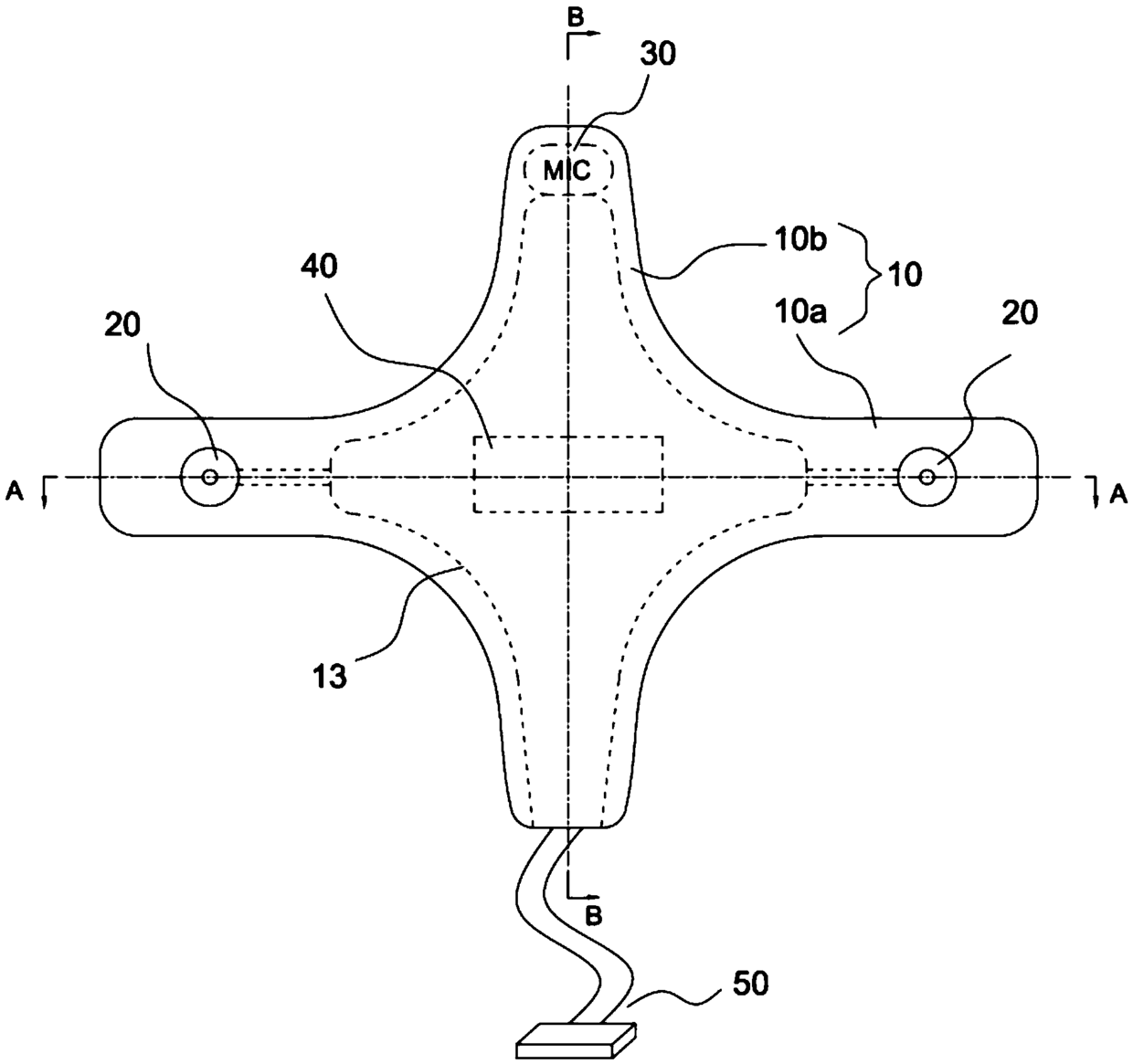
人体生理信号采集贴片
授权日:
1900-01-01
公开(公告)号:
CN105520730A
申请日:
2015-12-31
公开(公告)日:
2016-04-27
当前申请(专利权)人:
思澜科技(成都)有限公司
发明人:
张亮 | 高松 | 王奕刚 | 徐现红 | 戴涛
简单同族:
CN105520730A | CN105520730B | WO2017114471A1
简单同族成员数量:
3
简单同族被引用专利总数:
4
诉讼案件数:
0
法律状态/事件:
授权