首页
专利数据库
产业人才
行业动态
产业政策法规
维权援助
个人中心
登录/注册
详情
文本
图像
标题:
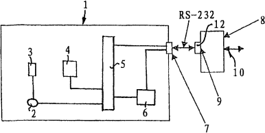
血压计
授权日:
1900-01-01
公开(公告)号:
CN101193586A
申请日:
2006-03-10
公开(公告)日:
2008-06-04
当前申请(专利权)人:
KAZ欧洲有限公司
发明人:
S·霍林戈尔 | D·文德尔 | U·赫克 | D·弗伦德 | B·哈特曼 | G·罗因纳伯格 | F·施纳克
简单同族:
AT494830T | CA2607728A1 | CN101193586A | DE102005019751A1 | DE502006008715D1 | EP1881783A1 | EP1881783B1 | ES2361437T3 | JP2008538941A | US20090198141A1 | WO2006114155A1
简单同族成员数量:
11
简单同族被引用专利总数:
11
诉讼案件数:
0
法律状态/事件:
撤回 | 复审