首页
专利数据库
产业人才
行业动态
产业政策法规
维权援助
个人中心
登录/注册
详情
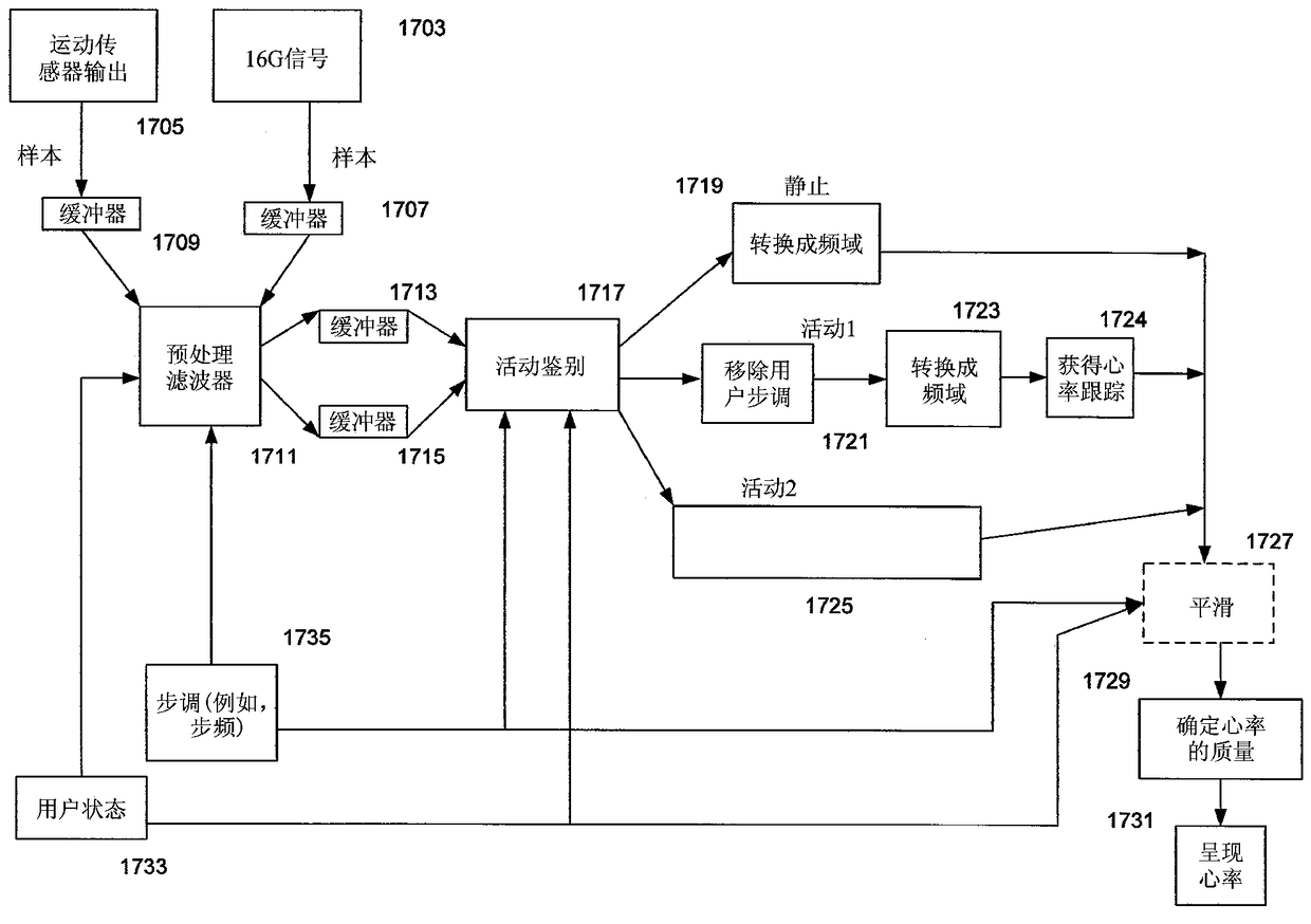
文本
图像
标题:
可佩戴心率监视器
授权日:
2018-02-23
公开(公告)号:
CN104207756B
申请日:
2014-06-03
公开(公告)日:
2018-02-23
当前申请(专利权)人:
飞比特公司
发明人:
萨博拉曼尼姆·文卡特拉曼 | 谢尔顿·杰骄·袁
简单同族:
CN104207756A | CN104207756B | CN106073737A | CN106073737B | CN106333667A | CN106333667B
简单同族成员数量:
6
简单同族被引用专利总数:
13
诉讼案件数:
0
法律状态/事件:
授权