首页
专利数据库
产业人才
行业动态
产业政策法规
维权援助
个人中心
登录/注册
详情
文本
图像
标题:
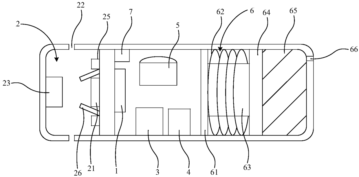
一种生理参数遥测胶囊
授权日:
1900-01-01
公开(公告)号:
CN104971423A
申请日:
2015-05-07
公开(公告)日:
2015-10-14
当前申请(专利权)人:
北京邮电大学
发明人:
周悦 | 徐智 | 江玲 | 卞广阔 | 陈文成
简单同族:
CN104971423A | CN104971423B
简单同族成员数量:
2
简单同族被引用专利总数:
6
诉讼案件数:
0
法律状态/事件:
授权