首页
专利数据库
产业人才
行业动态
产业政策法规
维权援助
个人中心
登录/注册
详情
文本
图像
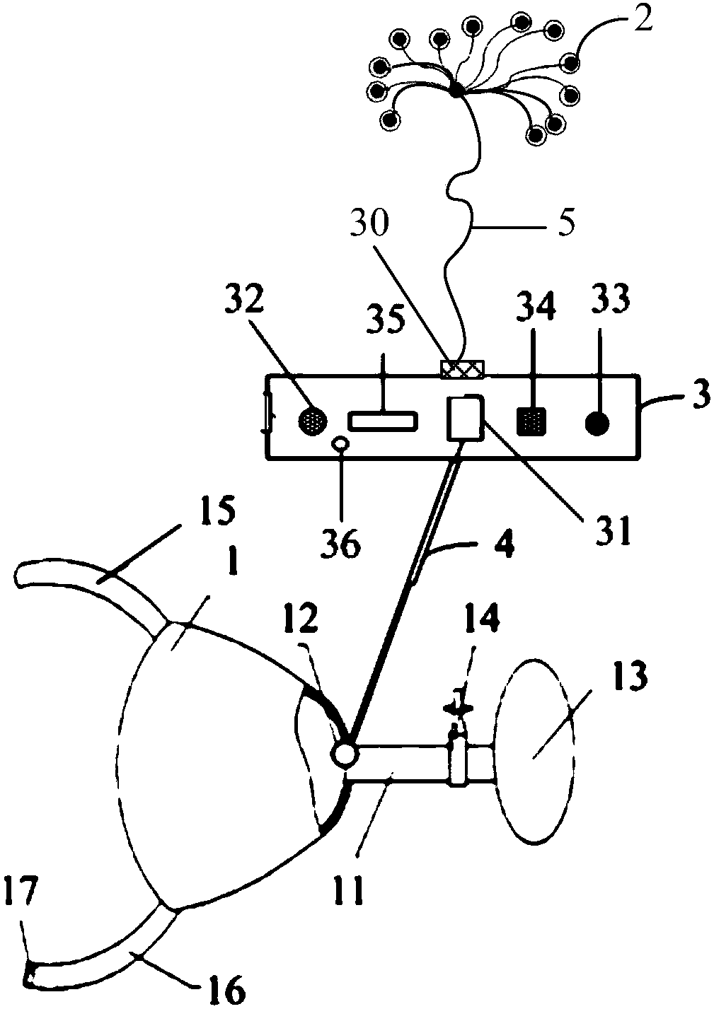
标题:
具有心电监测功能的可穿戴式监护设备
授权日:
2017-09-29
公开(公告)号:
CN206526368U
申请日:
2016-12-02
公开(公告)日:
2017-09-29
当前申请(专利权)人:
深圳市前海康启源科技有限公司
发明人:
张贯京 | 葛新科 | 高伟明 | 张红治 | 陈琦
简单同族:
CN206526368U | WO2018098929A1
简单同族成员数量:
2
简单同族被引用专利总数:
0
诉讼案件数:
0
法律状态/事件:
授权