首页
专利数据库
产业人才
行业动态
产业政策法规
维权援助
个人中心
登录/注册
详情
文本
图像
标题:
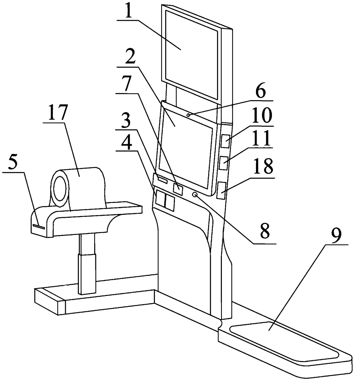
一种健康一体机
授权日:
2017-09-22
公开(公告)号:
CN206507927U
申请日:
2016-01-28
公开(公告)日:
2017-09-22
当前申请(专利权)人:
北京水木元生科技有限责任公司
发明人:
秦永强 | 吕勇强 | 陈渝 | 史元春
简单同族:
CN206507927U
简单同族成员数量:
1
简单同族被引用专利总数:
0
诉讼案件数:
0
法律状态/事件:
未缴年费