首页
专利数据库
产业人才
行业动态
产业政策法规
维权援助
个人中心
登录/注册
详情
文本
图像
标题:
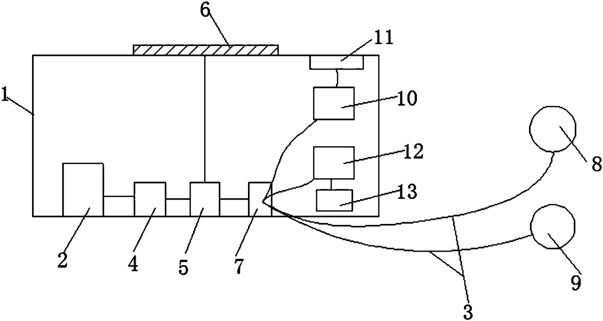
一种驾驶员身体状况的监测装置
授权日:
2017-09-01
公开(公告)号:
CN206453764U
申请日:
2016-09-22
公开(公告)日:
2017-09-01
当前申请(专利权)人:
陕西理工学院
发明人:
王林 | 雷蕾 | 左倩 | 衡政 | 张玉龙
简单同族:
CN206453764U
简单同族成员数量:
1
简单同族被引用专利总数:
0
诉讼案件数:
0
法律状态/事件:
未缴年费