首页
专利数据库
产业人才
行业动态
产业政策法规
维权援助
个人中心
登录/注册
详情
文本
图像
标题:
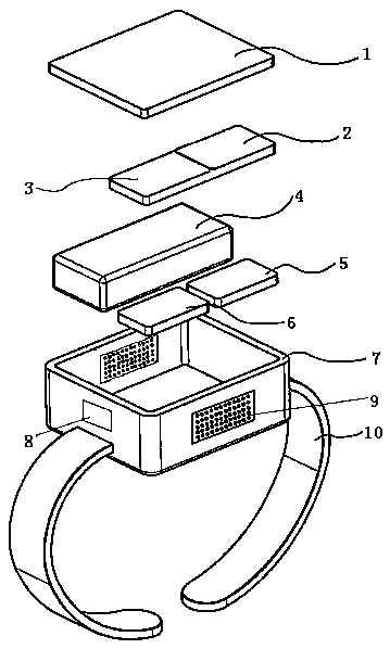
一种智能运动手表
授权日:
1900-01-01
公开(公告)号:
CN105361874A
申请日:
2015-10-31
公开(公告)日:
2016-03-02
当前申请(专利权)人:
芜湖迈特电子科技有限公司
发明人:
汪劲松 | 秦传保 | 毛明权
简单同族:
CN105361874A
简单同族成员数量:
1
简单同族被引用专利总数:
0
诉讼案件数:
0
法律状态/事件:
实质审查