首页
专利数据库
产业人才
行业动态
产业政策法规
维权援助
个人中心
登录/注册
详情
文本
图像
标题:
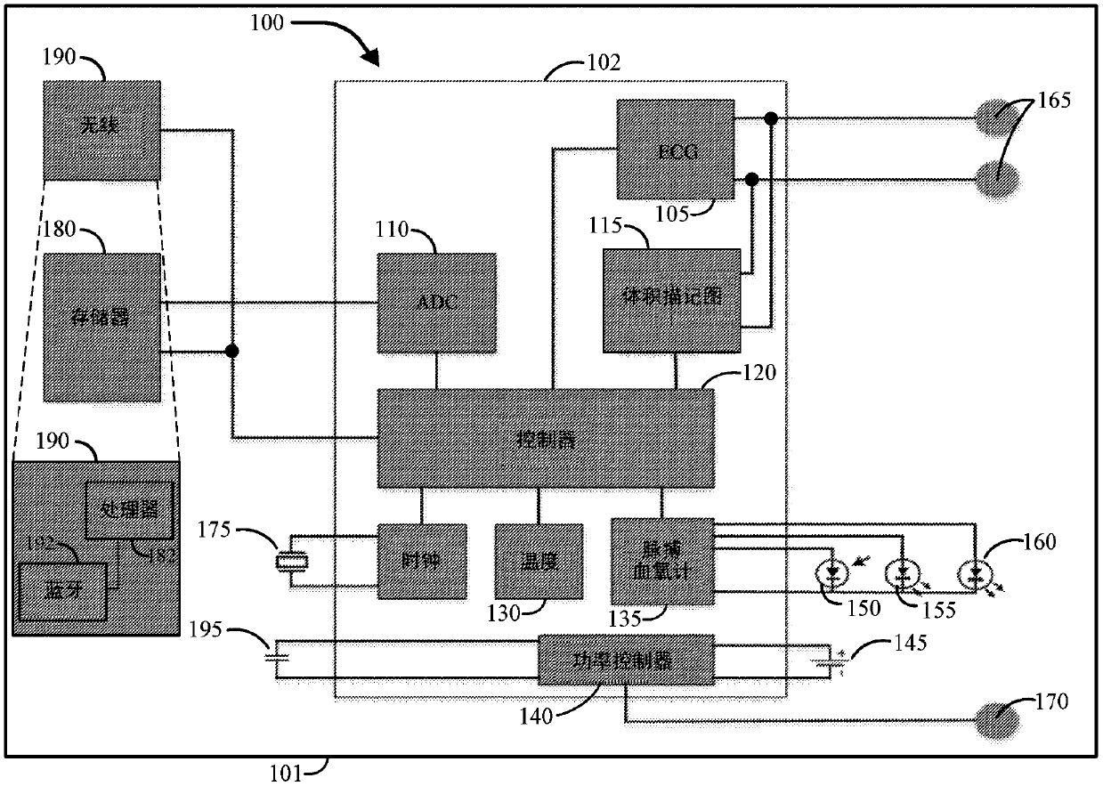
用于可摄入的生理监测器的系统和方法
授权日:
1900-01-01
公开(公告)号:
CN111148465A
申请日:
2018-07-26
公开(公告)日:
2020-05-12
当前申请(专利权)人:
通用医疗公司
发明人:
J·鲁斯金 | B·普莱斯
简单同族:
CN111148465A | EP3658011A1 | WO2019023473A1
简单同族成员数量:
3
简单同族被引用专利总数:
0
诉讼案件数:
0
法律状态/事件:
公开