首页
专利数据库
产业人才
行业动态
产业政策法规
维权援助
个人中心
登录/注册
详情
文本
图像
标题:
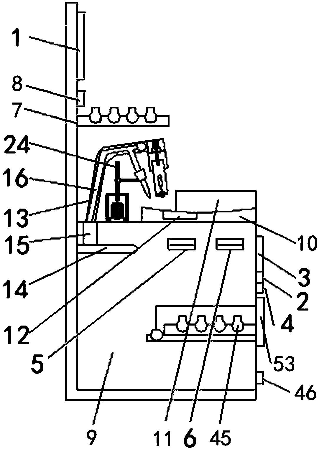
一种指尖血自动采样与血压脉搏测量一体机
授权日:
1900-01-01
公开(公告)号:
CN108392191A
申请日:
2018-05-07
公开(公告)日:
2018-08-14
当前申请(专利权)人:
苏州市启献智能科技有限公司
发明人:
王志华
简单同族:
CN108392191A
简单同族成员数量:
1
简单同族被引用专利总数:
0
诉讼案件数:
0
法律状态/事件:
实质审查 | 权利转移