首页
专利数据库
产业人才
行业动态
产业政策法规
维权援助
个人中心
登录/注册
详情
文本
图像
标题:
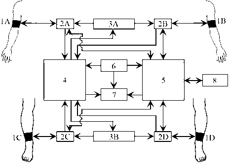
一种无创精确的动脉功能测量装置
授权日:
2014-03-05
公开(公告)号:
CN102743160B
申请日:
2012-07-31
公开(公告)日:
2014-03-05
当前申请(专利权)人:
济南汇医融工科技有限公司
发明人:
刘常春 | 李鹏 | 张明 | 杨磊 | 杨静
简单同族:
CN102743160A | CN102743160B
简单同族成员数量:
2
简单同族被引用专利总数:
7
诉讼案件数:
0
法律状态/事件:
授权 | 权利转移