标题:
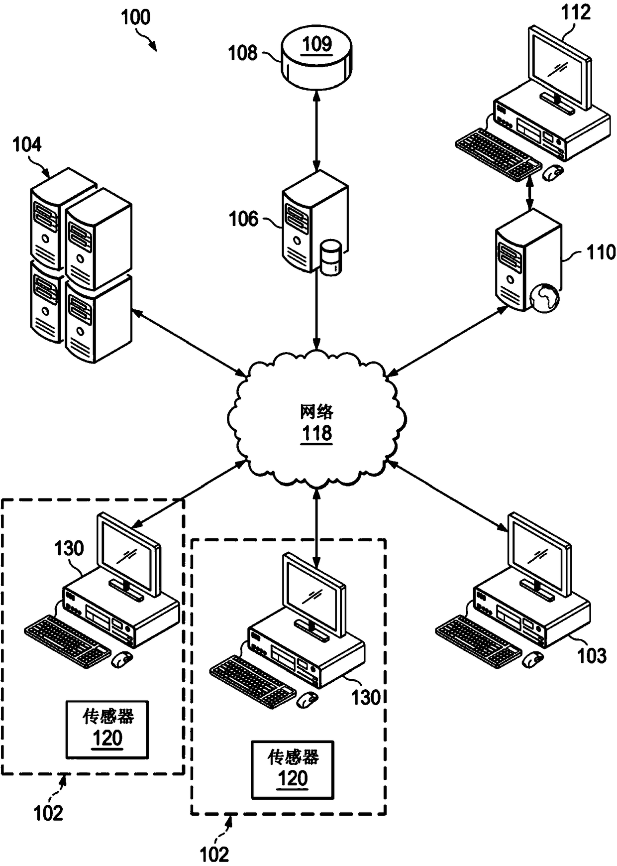
用于监测和改善雇员健康和生产率的系统、计算机介质和计算机实现方法
授权日:
1900-01-01
公开(公告)号:
CN103781405A
申请日:
2012-07-03
公开(公告)日:
2014-05-07
当前申请(专利权)人:
沙特阿拉伯石油公司
发明人:
萨曼莎·J·霍斯曼
简单同族:
AU2012279110A1 | AU2012279110B2 | CA2839287A1 | CA2839287C | CA3016496A1 | CA3016496C | CN103781405A | CN103781405B | EP2729052A1 | EP2729052B1 | JP2014524797A | JP2014524797A5 | JP6018631B2 | US20130012790A1 | US20140163335A1 | US9462977 | US9526455 | WO2013006615A1 | WO2013006615A8
简单同族成员数量:
19
简单同族被引用专利总数:
70
诉讼案件数:
0
法律状态/事件:
未缴年费