首页
专利数据库
产业人才
行业动态
产业政策法规
维权援助
个人中心
登录/注册
详情
文本
图像
标题:
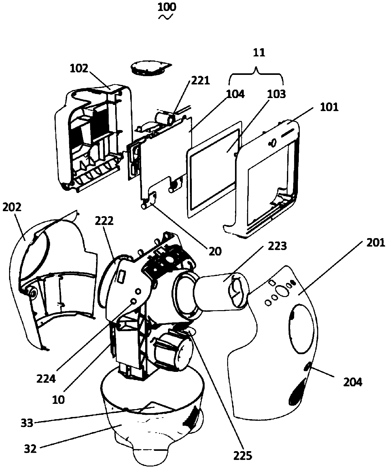
便携式智能家居康护机器人
授权日:
2019-12-06
公开(公告)号:
CN209733965U
申请日:
2018-07-27
公开(公告)日:
2019-12-06
当前申请(专利权)人:
湖南超能机器人技术有限公司
发明人:
肖湘江 | 刘峰 | 方潇 | 刘荣 | 王辉赞 | 黄科林 | 张冠勇
简单同族:
CN209733965U
简单同族成员数量:
1
简单同族被引用专利总数:
0
诉讼案件数:
0
法律状态/事件:
授权