标题:
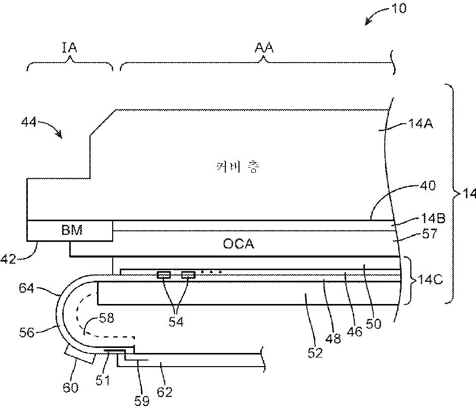
가요성 디스플레이
授权日:
1900-01-01
公开(公告)号:
KR1020160150640A
申请日:
2013-07-23
公开(公告)日:
2016-12-30
当前申请(专利权)人:
애플 인크.
发明人:
데그너,브레트,더블유. | 첸,치에 웨이 | 매튜,디네쉬,씨. | 디제익,폴,에스. | 김,상,하 | 그레스판,실비오 | 종,존,제트. | 귈로우,진 피에르 | 숭,구오 후아 | 박,영,배 | 굽타,바수드하
简单同族:
CN104521331A | CN104521331B | DE112013003937T5 | KR101976913B1 | KR1020150036443A | KR1020160150640A | TW201417267A | TWI599032B | US20140042406A1 | US9419065 | WO2014025534A1
简单同族成员数量:
11
简单同族被引用专利总数:
285
诉讼案件数:
0
法律状态/事件:
授权